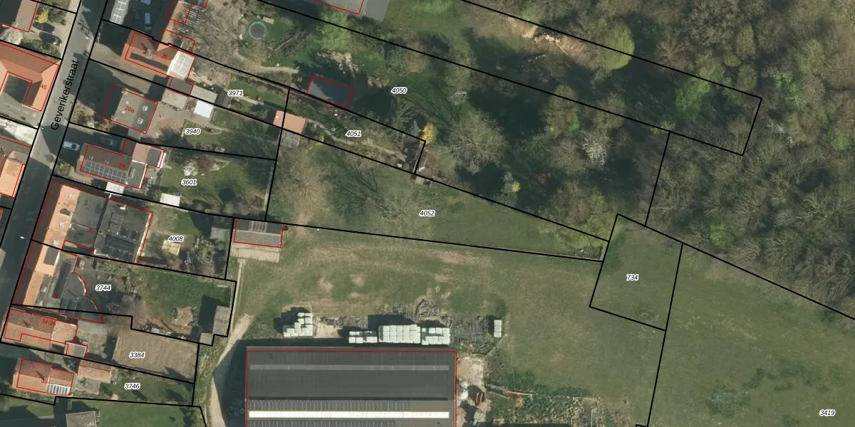
Perceel: BEE02-F-4052
Geen adressen bij dit perceel
1.065 m2 - 188 m
Eigenaar opvragen
BEE02-F-4052 (Beek)
- Geen postcode aanwezig
Pzs SekzoPPHyqP G5c9iPGnqJYrUpgrade naar KadastraleKaart Pro
Bekijk op Street View
Download DWG/DXF/Excel
k N1wYNRoP9K vFUpgrade naar KadastraleKaart Pro
A2oQINrv WK8Upgrade naar KadastraleKaart Pro
HuB98 K85gGAhzUy Upgrade naar KadastraleKaart Pro
tqQs0BgSDq E5svUpgrade naar KadastraleKaart Pro
1rSmovd2PV xnA1yNU Upgrade naar KadastraleKaart Pro
4VblfK7hjoGCJUpgrade naar KadastraleKaart Pro
8fp LzEZHiB lLUpgrade naar KadastraleKaart Pro
sqpOvysJ3WDUpgrade naar KadastraleKaart Pro
Dw3 1Vm3 0vUpgrade naar KadastraleKaart Pro
7OPBOJrHD0J6gAVG4xUpgrade naar KadastraleKaart Pro
08/08/2006

Percelen
Gebruik de zoekbalk of klik op een perceel om informatie over het perceel te bekijken.