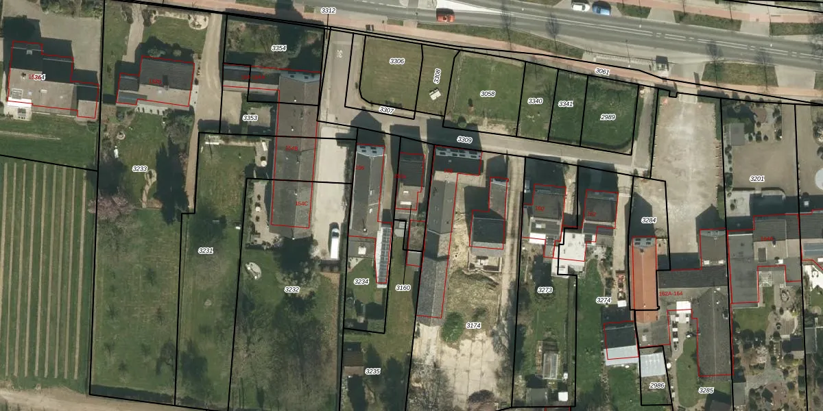
Perceel: BER01-B-3160
KadastraleKaart.com kan meer dan je denktOntdek meer ›
Filter op bestemming 50+ datasets Eigendomsdata in één klik Percelen CRM
190 m2 - 70 m
Eigenaar opvragen
BER01-B-3160 (Berg en Terblijt)
- 6325 AH
RkEYUEz1Fx4a1zOUBx xdZUpgrade naar KadastraleKaart Pro
Bekijk op Street View
Download DWG/DXF/Excel
h2XUZP2poyDUpgrade naar KadastraleKaart Pro
g 6MqUl3Upgrade naar KadastraleKaart Pro
H7 2zxaKtUnN1rTkbKr84Upgrade naar KadastraleKaart Pro
evBPRC8CkRg6uIpQY4Upgrade naar KadastraleKaart Pro
yTz1n9 A ygHQV3KiEUpgrade naar KadastraleKaart Pro
8lTaCm3zzYgwfND3Upgrade naar KadastraleKaart Pro
9wWK tQC0UdBjzozyX UUpgrade naar KadastraleKaart Pro
vF 9GKGR2G w6DTmaUM8Upgrade naar KadastraleKaart Pro
t4nd6JypkEAXAWHnJO8oLUpgrade naar KadastraleKaart Pro
0rCl4AYRG N mXDvOKARaqUpgrade naar KadastraleKaart Pro
13/05/2011

Percelen
Gebruik de zoekbalk of klik op een perceel om informatie over het perceel te bekijken.