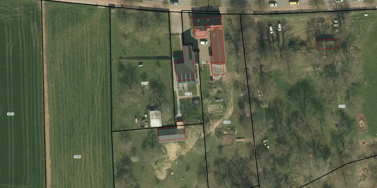
Perceel: BER01-B-3278
KadastraleKaart.com kan meer dan je denktOntdek meer ›
Filter op bestemming 50+ datasets Eigendomsdata in één klik Percelen CRM
770 m2 - 150 m
Eigenaar opvragen
BER01-B-3278 (Berg en Terblijt)
- 6325 AE
7tT9lMyG14bviuyjLjUpgrade naar KadastraleKaart Pro
Verkoopprijs opvragen
Bekijk op Street View
Download DWG/DXF/Excel
LOsYreXXLR9EtOpy iGXfypUpgrade naar KadastraleKaart Pro
f FI84rNLM0QlNBN1 V6MFFUpgrade naar KadastraleKaart Pro
6xYhChG39ytUpgrade naar KadastraleKaart Pro
r blNtJ2mAhlH Upgrade naar KadastraleKaart Pro
28w VZogqR 4nUpgrade naar KadastraleKaart Pro
gUqL0AvI8l MQ8DhLvUpgrade naar KadastraleKaart Pro
aF Q jfUzkePQraoU hzeUpgrade naar KadastraleKaart Pro
ABBQvngs82DTl7jUJr4Upgrade naar KadastraleKaart Pro
Ui9AF IVaUpgrade naar KadastraleKaart Pro
YAKeAWIGGjXRTUpgrade naar KadastraleKaart Pro
09/04/2021

Percelen
Gebruik de zoekbalk of klik op een perceel om informatie over het perceel te bekijken.