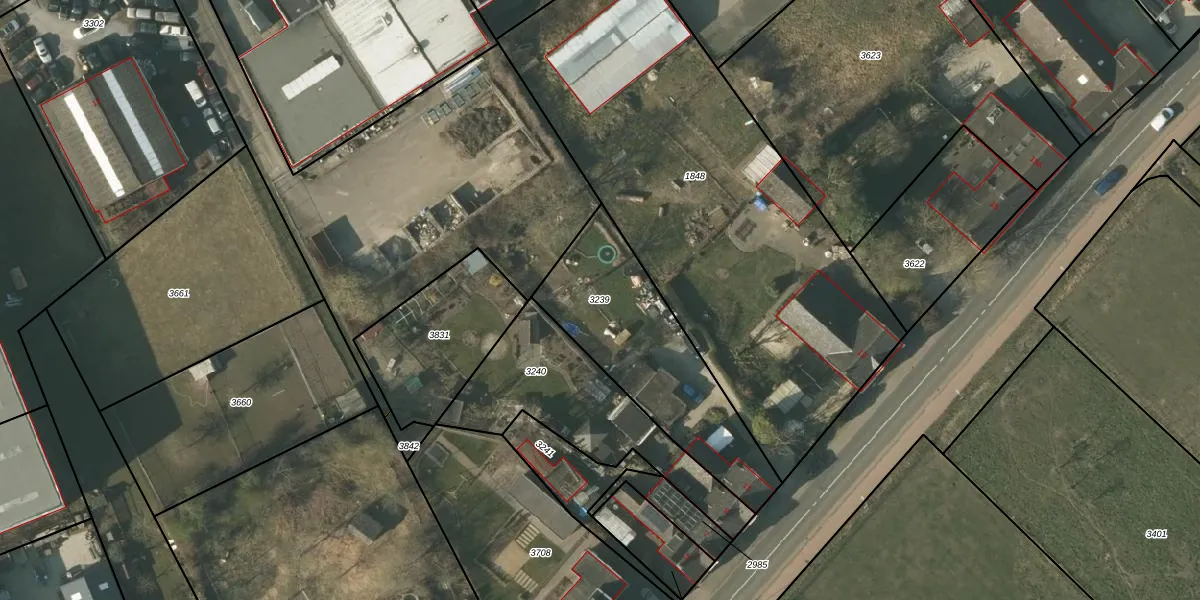
Perceel: BFD00-A-3239
740 m2 - 134 m
Eigenaar opvragen
BFD00-A-3239 (Belfeld)
- 5951 GK
LgMVvnYP uP5UGU6ndG1XIFR yBLUpgrade naar KadastraleKaart Pro
Verkoopprijs opvragen
Bekijk op Street View
Download DWG/DXF/Excel
5TiS1DX7Wzqc6EtrMhIUpgrade naar KadastraleKaart Pro
NMJkIvVmG7usUpgrade naar KadastraleKaart Pro
8Il Yq xTR5Ov8g 0 Upgrade naar KadastraleKaart Pro
2yi70sq692ku7WyUpgrade naar KadastraleKaart Pro
VNvvgaBFnUpgrade naar KadastraleKaart Pro
dD1GVpV KpawVUpgrade naar KadastraleKaart Pro
ujy59Hetf 1CeUWHUpgrade naar KadastraleKaart Pro
Jjp HqePC bg SstbUpgrade naar KadastraleKaart Pro
P EbYeUx PBkWqM9Upgrade naar KadastraleKaart Pro
CII2Cyg1qT7mo7Z9YQJve3Upgrade naar KadastraleKaart Pro
03/09/2012

Percelen
Gebruik de zoekbalk of klik op een perceel om informatie over het perceel te bekijken.