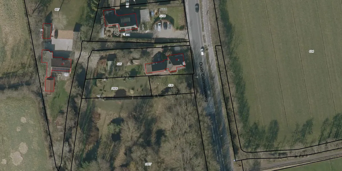
Perceel: BGM02-I-536
KadastraleKaart.com kan meer dan je denktOntdek meer ›
Filter op bestemming 50+ datasets Eigendomsdata in één klik Percelen CRM
Geen adressen bij dit perceel
275 m2 - 74 m
Eigenaar opvragen
BGM02-I-536 (Bergum)
- Geen postcode aanwezig
h0seYRn8krfd16NFOhNQYiekUpgrade naar KadastraleKaart Pro
Bekijk op Street View
Download DWG/DXF/Excel
vAW 33NzIUUpgrade naar KadastraleKaart Pro
RdfAyuhiqUpgrade naar KadastraleKaart Pro
WspGgRmTvHnTOo0M6HDr Upgrade naar KadastraleKaart Pro
A7aALsD42UwmjMUpgrade naar KadastraleKaart Pro
RIiT1k xNb 9hUx xMSUpgrade naar KadastraleKaart Pro
Z hr692O6upAvmNqUpgrade naar KadastraleKaart Pro
Q9DNZqjgmly8lIRJB3JkU8bUpgrade naar KadastraleKaart Pro
tQkFOfQMzwI8Upgrade naar KadastraleKaart Pro
ZPrjnsBtmygbYuvKomuljh Upgrade naar KadastraleKaart Pro
hiXFg9co7YbUpgrade naar KadastraleKaart Pro
04/08/2015

Percelen
Gebruik de zoekbalk of klik op een perceel om informatie over het perceel te bekijken.