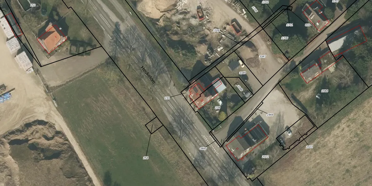
Perceel: BGN02-T-233
KadastraleKaart.com kan meer dan je denktOntdek meer ›
Filter op bestemming 50+ datasets Eigendomsdata in één klik Percelen CRM
180 m2 - 63 m
Eigenaar opvragen
BGN02-T-233 (Bergen Limburg)
- 5851 AA
eLZm PapNBSd JOCgCp28h9NN8 Upgrade naar KadastraleKaart Pro
Verkoopprijs opvragen
Bekijk op Street View
Download DWG/DXF/Excel
RjltWgr7ULYYK nd7bXUpgrade naar KadastraleKaart Pro
2DLpa1Ekb6YvBdsF4Upgrade naar KadastraleKaart Pro
s qqBXYD5tM8VUpgrade naar KadastraleKaart Pro
9c5RZdhnORjoUpgrade naar KadastraleKaart Pro
B5W6Ekg nyLLKqtBk Upgrade naar KadastraleKaart Pro
ZTZn78hwF 78AUeGBqkM4Upgrade naar KadastraleKaart Pro
zBGsaL0hLqPYzogeTq1gUpgrade naar KadastraleKaart Pro
UsslWDYWeu 5poHP5tUpgrade naar KadastraleKaart Pro
tr1LoH I tREpi cvHgxnZUpgrade naar KadastraleKaart Pro
yyb5tJhri08LEFFB bcUpgrade naar KadastraleKaart Pro
03/12/2009

Percelen
Gebruik de zoekbalk of klik op een perceel om informatie over het perceel te bekijken.