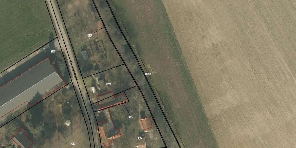
Perceel: BHZ01-D-1136
Geen adressen bij dit perceel
520 m2 - 489 m
Eigenaar opvragen
BHZ01-D-1136 (Broekhuizen)
- Geen postcode aanwezig
nrAlYh9etKCAFvTZ6aPro qqieRUpgrade naar KadastraleKaart Pro
Bekijk op Street View
Download DWG/DXF/Excel
31 HSWHHUpgrade naar KadastraleKaart Pro
XsC4lsGORhdNOW14x6mtvxUpgrade naar KadastraleKaart Pro
F2Ld8LpLAJCUpgrade naar KadastraleKaart Pro
abeu CISXvZce9 9JK Upgrade naar KadastraleKaart Pro
pq9wI6u s9Gj0dPEofwQ9tUpgrade naar KadastraleKaart Pro
9miJG4BxloJrLUpgrade naar KadastraleKaart Pro
rl9B3eE 5XV9HCH Upgrade naar KadastraleKaart Pro
xR SA3O0YqmLUUpgrade naar KadastraleKaart Pro
lF1sMbpLP3 Upgrade naar KadastraleKaart Pro
waZjE3VvWwvzDW 8jBVUpgrade naar KadastraleKaart Pro
16/04/2018

Percelen
Gebruik de zoekbalk of klik op een perceel om informatie over het perceel te bekijken.