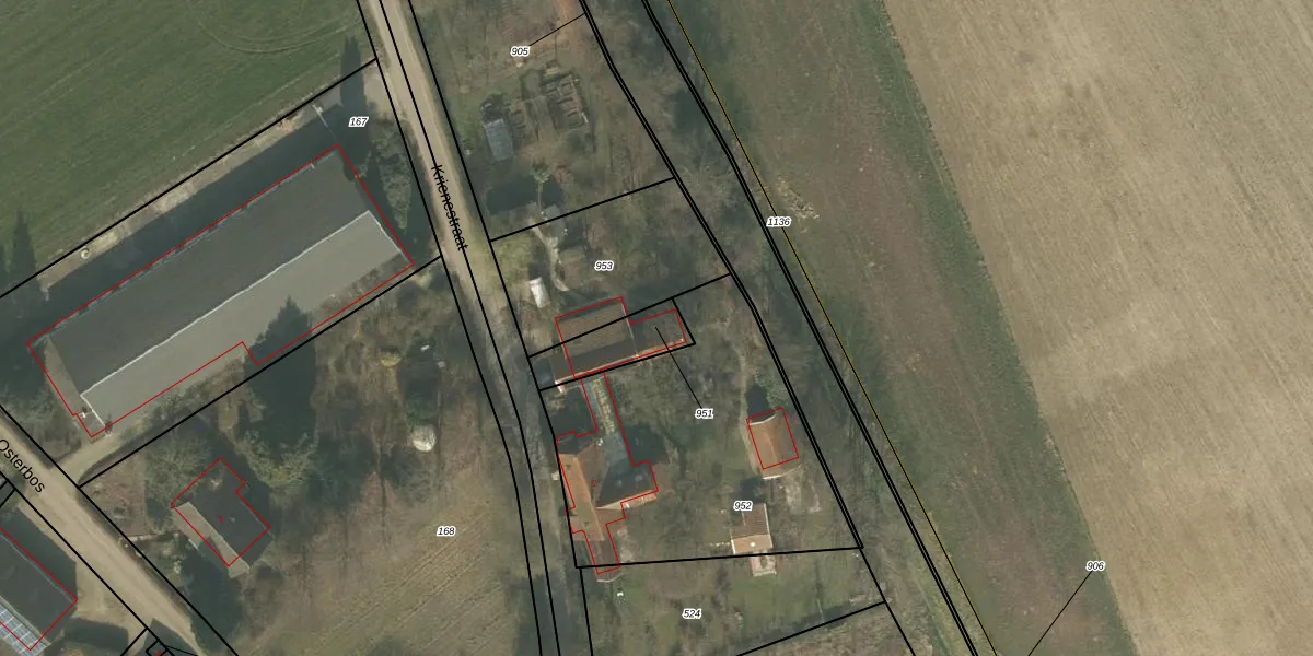
Perceel: BHZ01-D-951
KadastraleKaart.com kan meer dan je denktOntdek meer ›
Filter op bestemming 50+ datasets Eigendomsdata in één klik Percelen CRM
Geen adressen bij dit perceel
165 m2 - 62 m
Eigenaar opvragen
BHZ01-D-951 (Broekhuizen)
- Geen postcode aanwezig
OeYxl22gwQGMW G5MaoUpgrade naar KadastraleKaart Pro
Bekijk op Street View
Download DWG/DXF/Excel
wosDzUnbVB77R CUpgrade naar KadastraleKaart Pro
Ub OwagMbUpgrade naar KadastraleKaart Pro
P0xpI447WyZz O0U51Q Upgrade naar KadastraleKaart Pro
L7LhM sSbhZIiH2lX7nUpgrade naar KadastraleKaart Pro
Vg 5qtKHa7Xzn21JHUpgrade naar KadastraleKaart Pro
iiXe yZ3iAcUXCX dl42F 1Upgrade naar KadastraleKaart Pro
kVa0u R6WO p8Upgrade naar KadastraleKaart Pro
r6UVKEhX4VEToa 3gboJyUpgrade naar KadastraleKaart Pro
yY MnQn tZLO8S UaZkUpgrade naar KadastraleKaart Pro
s Z6BdlMKmxtiUpgrade naar KadastraleKaart Pro
09/10/2008

Percelen
Gebruik de zoekbalk of klik op een perceel om informatie over het perceel te bekijken.