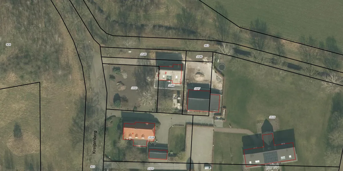
Perceel: BKL02-B-1549
KadastraleKaart.com kan meer dan je denktOntdek meer ›
Filter op bestemming 50+ datasets Eigendomsdata in één klik Percelen CRM
595 m2 - 159 m
Eigenaar opvragen
BKL02-B-1549 (Bakel en Milheeze)
- 5763 PR
XQVRpAW2OaltQSgLiGehPOP8Oth 7kUpgrade naar KadastraleKaart Pro
Bekijk op Street View
Download DWG/DXF/Excel
y n65b4Ss V9ZdUpgrade naar KadastraleKaart Pro
TV10 uYvUpgrade naar KadastraleKaart Pro
oBxcfD LeJ 3JvGRmUpgrade naar KadastraleKaart Pro
P3FZNZJXJxzCk1 ZQUpgrade naar KadastraleKaart Pro
o TS sYEbajIY7eUpgrade naar KadastraleKaart Pro
avmRXibRUCpor7Upgrade naar KadastraleKaart Pro
aDLAP sxM1EOUpgrade naar KadastraleKaart Pro
M 09M2XlUpgrade naar KadastraleKaart Pro
4Lrnh VI8kSeMmsAUpgrade naar KadastraleKaart Pro
DnjVhLij7b5L1BK1P1I FUpgrade naar KadastraleKaart Pro
11/09/2017

Percelen
Gebruik de zoekbalk of klik op een perceel om informatie over het perceel te bekijken.