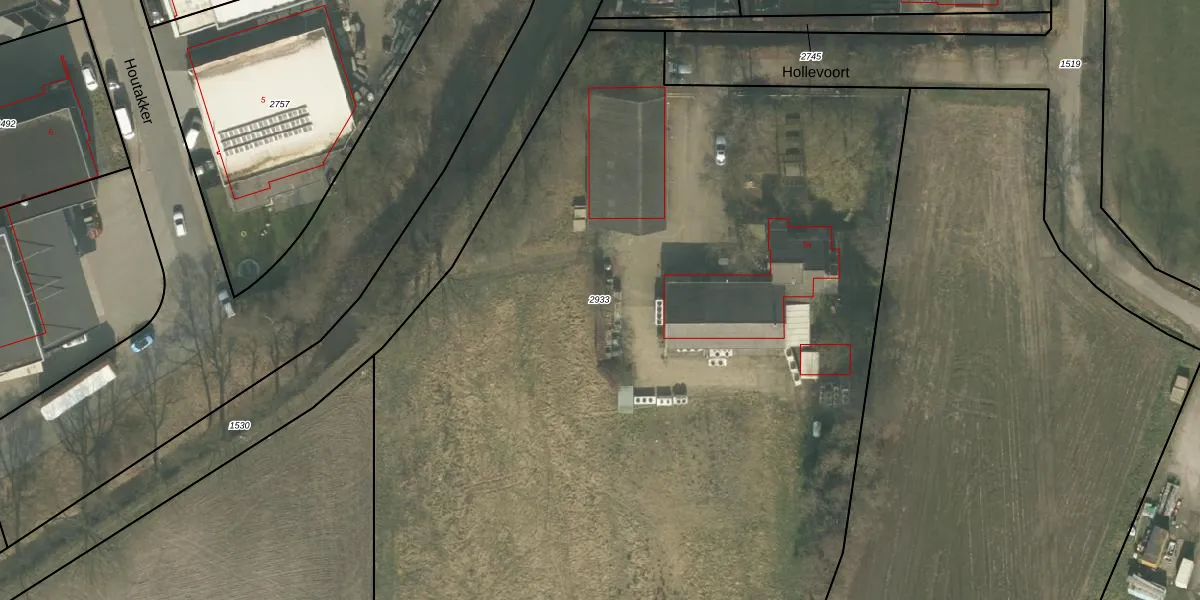
Perceel: BKL02-N-2933
KadastraleKaart.com kan meer dan je denktOntdek meer ›
Filter op bestemming 50+ datasets Eigendomsdata in één klik Percelen CRM
7.115 m2 - 349 m
Eigenaar opvragen
BKL02-N-2933 (Bakel en Milheeze)
- 5761 PC
1 1W oTAR boq Q3Upgrade naar KadastraleKaart Pro
Verkoopprijs opvragen
Bekijk op Street View
Download DWG/DXF/Excel
RzwsCeLtUpgrade naar KadastraleKaart Pro
QYm deELz8 ntR6KUpgrade naar KadastraleKaart Pro
Slzg7 27 vvXLD6C0jy Upgrade naar KadastraleKaart Pro
otaCIDh s7eeWX197LBnjUpgrade naar KadastraleKaart Pro
AyASjDJSmCPEPNTNxsTWUpgrade naar KadastraleKaart Pro
a afeP7c C Upgrade naar KadastraleKaart Pro
xGIn09jOu7 bTRQ uwOaMmUpgrade naar KadastraleKaart Pro
bVNe9F5Upgrade naar KadastraleKaart Pro
qtV8bSdZQtZ 8Upgrade naar KadastraleKaart Pro
EsvXLjuPRuutKEDCIUpgrade naar KadastraleKaart Pro
05/11/2020

Percelen
Gebruik de zoekbalk of klik op een perceel om informatie over het perceel te bekijken.