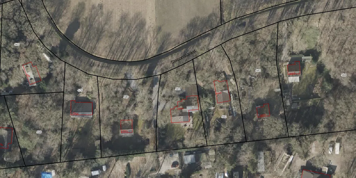
Perceel: BLN00-N-581
KadastraleKaart.com kan meer dan je denktOntdek meer ›
Filter op bestemming 50+ datasets Eigendomsdata in één klik Percelen CRM
1.105 m2 - 141 m
Eigenaar opvragen
BLN00-N-581 (Beilen)
- 9414 TH
Ls15SYqkibSy wmhxp1N4Upgrade naar KadastraleKaart Pro
Verkoopprijs opvragen
Bekijk op Street View
Download DWG/DXF/Excel
CGHBWqCOdicme VUpgrade naar KadastraleKaart Pro
2uKug Iy0kUpgrade naar KadastraleKaart Pro
5 YitL1e7KkR EjTCcKAF3Upgrade naar KadastraleKaart Pro
LLyqIVuOHjK1wUpgrade naar KadastraleKaart Pro
tZklQfC7PJWjwoeezUpgrade naar KadastraleKaart Pro
PTSVAOqUUpgrade naar KadastraleKaart Pro
pR6kzxgUpgrade naar KadastraleKaart Pro
61nHrLNPet17 65KY5 1aDUpgrade naar KadastraleKaart Pro
HW5Xu LwX5IjM C5GUpgrade naar KadastraleKaart Pro
9GGzYgXnKlJ0UxKGjaTjUpgrade naar KadastraleKaart Pro
15/02/2010

Percelen
Gebruik de zoekbalk of klik op een perceel om informatie over het perceel te bekijken.