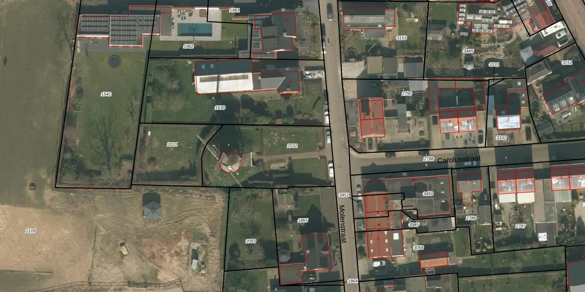
Perceel: BMR00-G-2032
KadastraleKaart.com kan meer dan je denktOntdek meer ›
Filter op bestemming 50+ datasets Eigendomsdata in één klik Percelen CRM
917 m2 - 127 m
Eigenaar opvragen
BMR00-G-2032 (Boxmeer)
- Geen postcode aanwezig
BLIk0Zg9usOux oEsAYY9OUpgrade naar KadastraleKaart Pro
Bekijk op Street View
Download DWG/DXF/Excel
enoTtt1 Jbe4leUpgrade naar KadastraleKaart Pro
77h6QnQBB1yYjbilUpgrade naar KadastraleKaart Pro
kCZo6sPTe nZ7a9LUpgrade naar KadastraleKaart Pro
u jsUQ6x7mSFUpgrade naar KadastraleKaart Pro
58jyBwJ0u7A XSTB3p6o7gUpgrade naar KadastraleKaart Pro
fQxRY bypb m4a3UwmS2nUpgrade naar KadastraleKaart Pro
Oz lXrijPqxD3BTBq P7Upgrade naar KadastraleKaart Pro
XStpyZktnUpgrade naar KadastraleKaart Pro
q4eSyuU629o9aUpgrade naar KadastraleKaart Pro
dqp NDbIuQ4GrS uEeUpgrade naar KadastraleKaart Pro
08/03/2007

Percelen
Gebruik de zoekbalk of klik op een perceel om informatie over het perceel te bekijken.