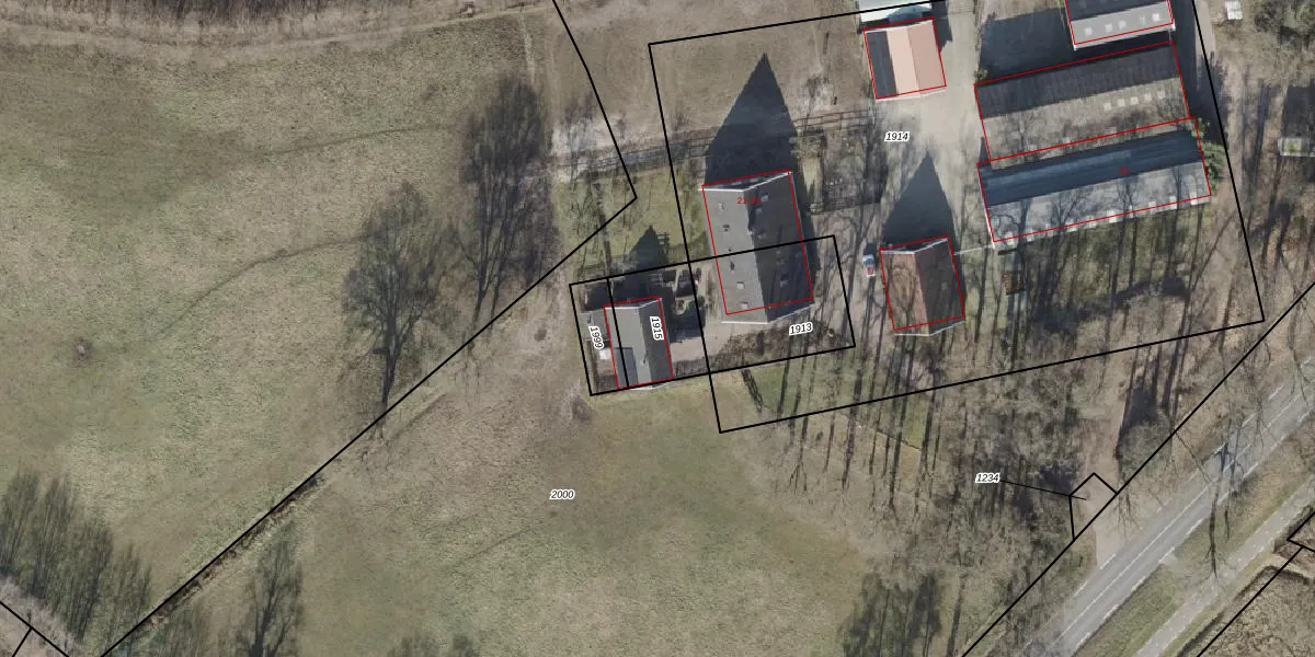
Perceel: BNE00-A-1915
Geen adressen bij dit perceel
216 m2 - 59 m
Eigenaar opvragen
BNE00-A-1915 (Borne)
- Geen postcode aanwezig
H6L ceIxP6B9TCK1uP8AZgUpgrade naar KadastraleKaart Pro
Bekijk op Street View
Download DWG/DXF/Excel
pZo91acbb1zVUpgrade naar KadastraleKaart Pro
TqsFvycFFTxntVUH5zUpgrade naar KadastraleKaart Pro
1NSQ PYsiSpZOuryFvqIUpgrade naar KadastraleKaart Pro
qkTUbkEeOaQDUqb2U5mUpgrade naar KadastraleKaart Pro
aqqEWNcPYUpgrade naar KadastraleKaart Pro
eDCwjtz4xzCb sX74rUpgrade naar KadastraleKaart Pro
Axu XanEOXUpgrade naar KadastraleKaart Pro
v4dSVIkaZRUpgrade naar KadastraleKaart Pro
ibXaXi9b4d0 A88auTUpgrade naar KadastraleKaart Pro
XU3vE4Sm2DKgNA1JgUpgrade naar KadastraleKaart Pro
02/04/2012

Percelen
Gebruik de zoekbalk of klik op een perceel om informatie over het perceel te bekijken.