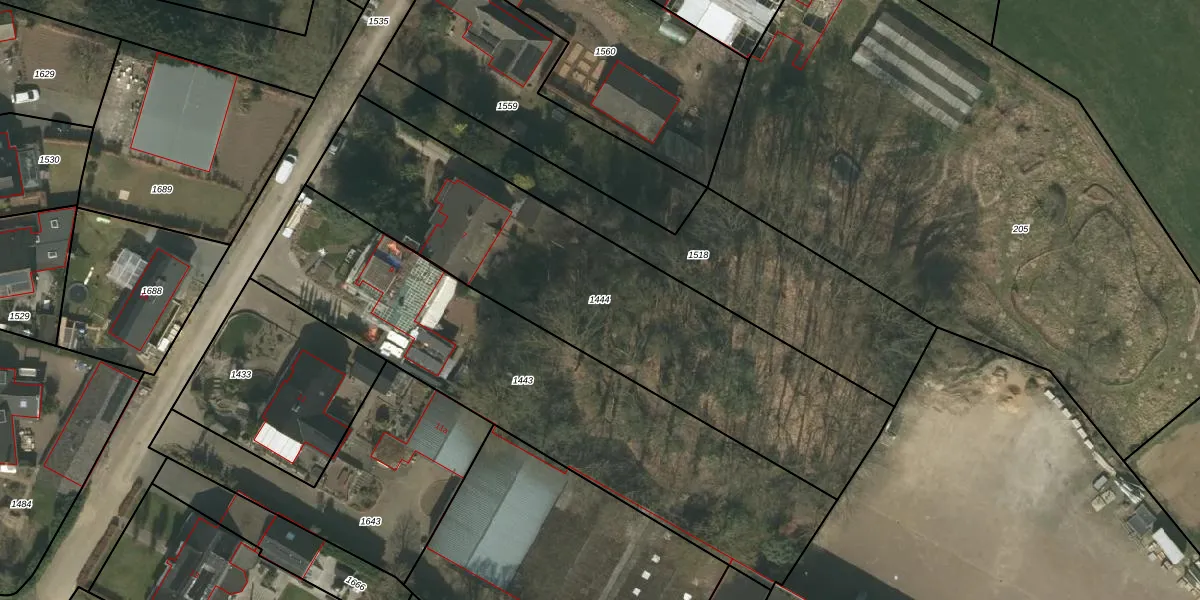
Perceel: BSL02-F-1444
1.760 m2 - 242 m
Eigenaar opvragen
BSL02-F-1444 (Beesel)
- 5954 CA
3I8u3DZpyqB60oUl fdNw0kTITMUpgrade naar KadastraleKaart Pro
Bekijk op Street View
Download DWG/DXF/Excel
bjn VoLEeG rU1bTH1Upgrade naar KadastraleKaart Pro
VCHflNZH KrCnUzWxyuRWvUpgrade naar KadastraleKaart Pro
tzKMjfHgxwKre0hqChz URUpgrade naar KadastraleKaart Pro
7Dm2IA2vUpgrade naar KadastraleKaart Pro
Rl1M Vk2JVSH3mUpgrade naar KadastraleKaart Pro
fFnp WPlaOXV4RWf T70Upgrade naar KadastraleKaart Pro
Xw HMETSUpgrade naar KadastraleKaart Pro
aHmmyx kTLVgUpgrade naar KadastraleKaart Pro
reQ2xz9GZ2dMUpgrade naar KadastraleKaart Pro
G1B1Rd1HdVYUpgrade naar KadastraleKaart Pro
20/11/2006

Percelen
Gebruik de zoekbalk of klik op een perceel om informatie over het perceel te bekijken.