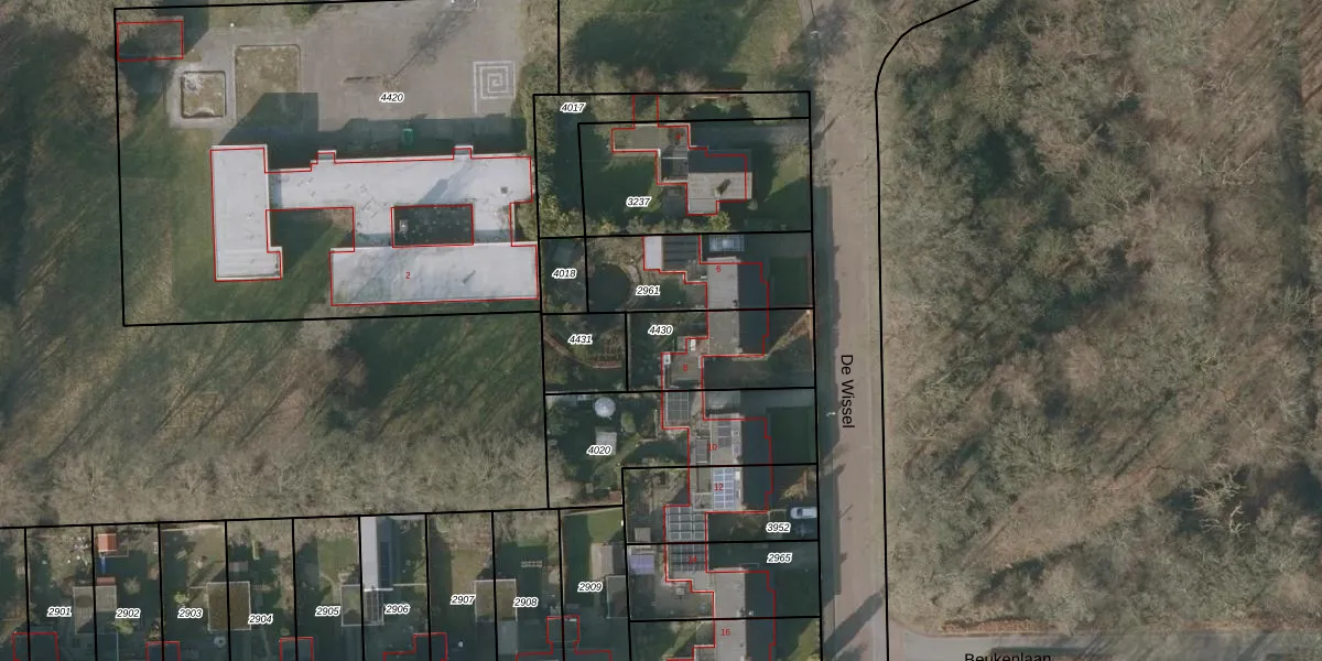
Perceel: BSZ00-B-4430
KadastraleKaart.com kan meer dan je denktOntdek meer ›
Filter op bestemming 50+ datasets Eigendomsdata in één klik Percelen CRM
343 m2 - 81 m
Eigenaar opvragen
BSZ00-B-4430 (Beetsterzwaag)
- 9244 EW
OMvmE2JRv4oISaTV1x6gnhUpgrade naar KadastraleKaart Pro
Verkoopprijs opvragen
Bekijk op Street View
Download DWG/DXF/Excel
mufP1NHVhF5ruk4wPUpgrade naar KadastraleKaart Pro
BwxavPMbBOUgwiBkUpgrade naar KadastraleKaart Pro
7wPY7FeXwQ3Wiv1XK2mUpgrade naar KadastraleKaart Pro
L QAS fL2vcDjXNLeUpgrade naar KadastraleKaart Pro
PIjN v2eKhr8NUpgrade naar KadastraleKaart Pro
GY5WzlUpgrade naar KadastraleKaart Pro
gLx6L VTE5FxFUpgrade naar KadastraleKaart Pro
BPKN1gzLsd1Qymw2VgPh4Upgrade naar KadastraleKaart Pro
5iqEfShjRgXSXVZoUpgrade naar KadastraleKaart Pro
5HVKsqb WUpgrade naar KadastraleKaart Pro
02/12/2009

Percelen
Gebruik de zoekbalk of klik op een perceel om informatie over het perceel te bekijken.