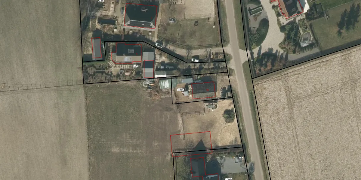
Perceel: CHA00-K-1096
KadastraleKaart.com kan meer dan je denktOntdek meer ›
Filter op bestemming 50+ datasets Eigendomsdata in één klik Percelen CRM
479 m2 - 95 m
Eigenaar opvragen
CHA00-K-1096 (Chaam)
- 4861 PA
x Tl Ig0UrekBckvrnsYn6dA YLcV3Upgrade naar KadastraleKaart Pro
Bekijk op Street View
Download DWG/DXF/Excel
IzOUgUEfxj6vRPNXIP2 YZBUpgrade naar KadastraleKaart Pro
G yojAZtl2llUpgrade naar KadastraleKaart Pro
IA1xnczpkESZUpgrade naar KadastraleKaart Pro
o0j rnp1jNU kLjNHhedUpgrade naar KadastraleKaart Pro
j 6z9kPRoBR JtAA M VZ2Upgrade naar KadastraleKaart Pro
KjxhS3B zEk1 iBdB ppbUpgrade naar KadastraleKaart Pro
guC2XyKAbgDPaeXEUpgrade naar KadastraleKaart Pro
jrz9 Vp4Ae Kd mbdUpgrade naar KadastraleKaart Pro
iAjW9WUuVzWJGUpgrade naar KadastraleKaart Pro
X4gxOAChUpgrade naar KadastraleKaart Pro
12/10/2022

Percelen
Gebruik de zoekbalk of klik op een perceel om informatie over het perceel te bekijken.