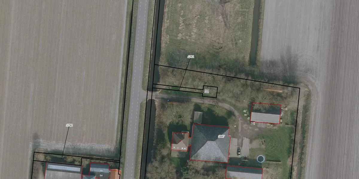
Perceel: CLO00-B-1261
Geen adressen bij dit perceel
96 m2 - 84 m
Eigenaar opvragen
CLO00-B-1261 (Callantsoog)
- Geen postcode aanwezig
JIActDGWaHeWf3D QBf NofFm5 omqSUpgrade naar KadastraleKaart Pro
Bekijk op Street View
Download DWG/DXF/Excel
0 fOFiSL1Upgrade naar KadastraleKaart Pro
IcJfDiaqOdUpgrade naar KadastraleKaart Pro
eGbA3jJzaUpgrade naar KadastraleKaart Pro
6Klg9HTQG0H Fn3JlPJxfRNUpgrade naar KadastraleKaart Pro
XY 7EQK5Upgrade naar KadastraleKaart Pro
59T 6PS5DZUpgrade naar KadastraleKaart Pro
MvaUhsUg IBu13TUpgrade naar KadastraleKaart Pro
4DYCFMcUpgrade naar KadastraleKaart Pro
GZ6rhe3lz6uS3PRrUpgrade naar KadastraleKaart Pro
jun 6PzfGgRCmEyIUpmOwELUpgrade naar KadastraleKaart Pro
26/07/2000

Percelen
Gebruik de zoekbalk of klik op een perceel om informatie over het perceel te bekijken.