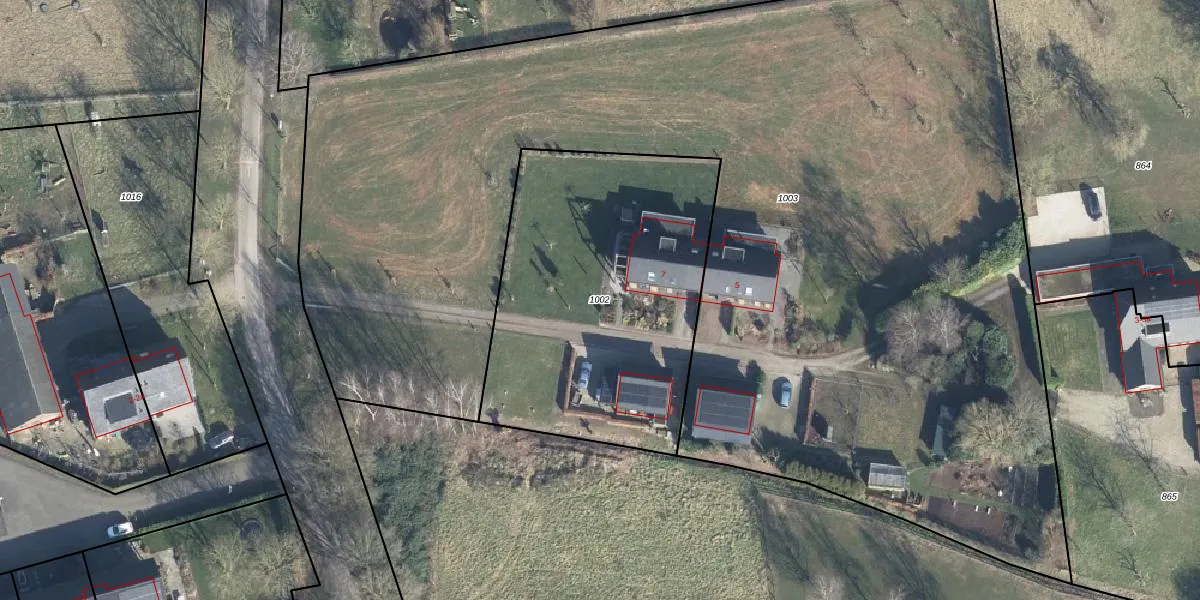
Perceel: DDM00-R-1002
KadastraleKaart.com kan meer dan je denktOntdek meer ›
Filter op bestemming 50+ datasets Eigendomsdata in één klik Percelen CRM
1.600 m2 - 163 m
Eigenaar opvragen
DDM00-R-1002 (Didam)
- 6942 NA
xoNHmNpId tTu9C1CpSutO1Upgrade naar KadastraleKaart Pro
Bekijk op Street View
Download DWG/DXF/Excel
EmjaRUXIWsQcOnDzVnH64Upgrade naar KadastraleKaart Pro
fEVX CTrWa2fs1JkUpgrade naar KadastraleKaart Pro
AU6tcGyWs4wgV6Upgrade naar KadastraleKaart Pro
N DFliAeffUeFMf 0vOUpgrade naar KadastraleKaart Pro
prJFcfzt I xno0IUpgrade naar KadastraleKaart Pro
a2O2FPeZmjMVrrk8Upgrade naar KadastraleKaart Pro
aH4k8RrUw qFEsFteMvOUpgrade naar KadastraleKaart Pro
Xwq SrP1L7y0lTqVUpgrade naar KadastraleKaart Pro
ktU4DPj4MlOiC3 CUpgrade naar KadastraleKaart Pro
bpCkWzLhaEOBt7vUpgrade naar KadastraleKaart Pro
20/10/2015

Percelen
Gebruik de zoekbalk of klik op een perceel om informatie over het perceel te bekijken.