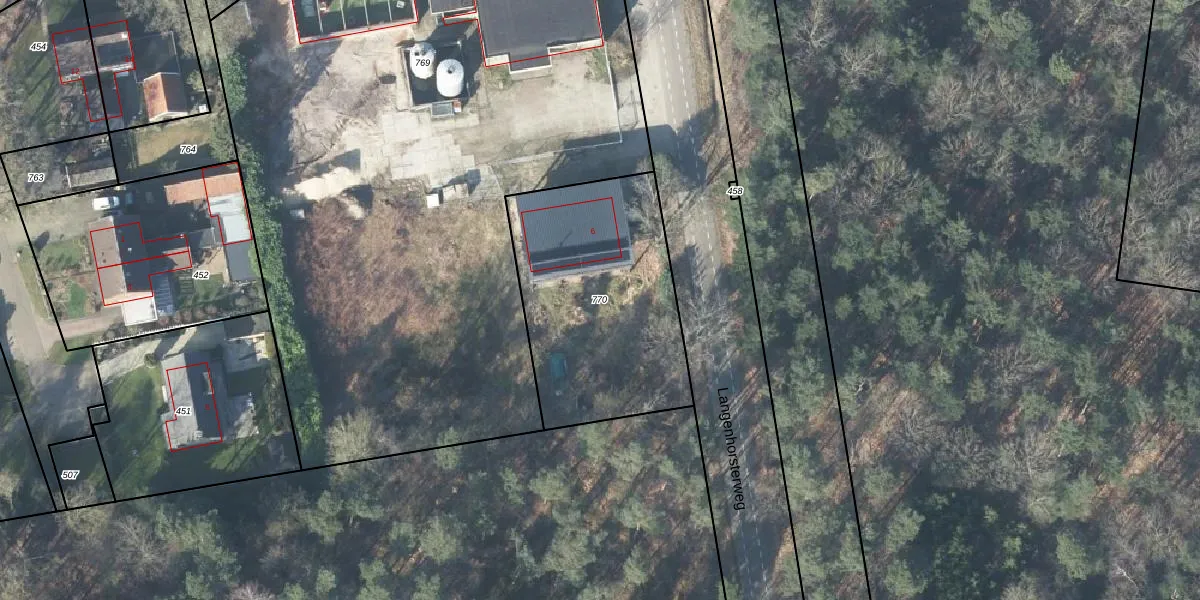
Perceel: DDN01-P-770
995 m2 - 130 m
Eigenaar opvragen
DDN01-P-770 (Ambt-Delden)
- 7495 RD
zNuWWow7LcypMHt4i9mUpgrade naar KadastraleKaart Pro
Bekijk op Street View
Download DWG/DXF/Excel
xSMOntq7lU1GyLUpgrade naar KadastraleKaart Pro
Wild0ZB5Upgrade naar KadastraleKaart Pro
RZ P OG2VEEdvj EziZXUpgrade naar KadastraleKaart Pro
8vIs86G jUpgrade naar KadastraleKaart Pro
7hWRgSgoNnX9 aUpgrade naar KadastraleKaart Pro
W96 tfOtbV SXuUpgrade naar KadastraleKaart Pro
qNuZI4 eWeOPrSTjx0Upgrade naar KadastraleKaart Pro
A6gnjtM 6 Br9whhHNpKJ6Upgrade naar KadastraleKaart Pro
SSL1Gk93mqhpbsH5OFR QUpgrade naar KadastraleKaart Pro
S 1cwFY2IUpgrade naar KadastraleKaart Pro
29/03/2023

Percelen
Gebruik de zoekbalk of klik op een perceel om informatie over het perceel te bekijken.