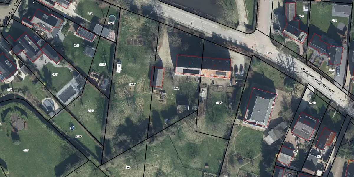
Perceel: DDW00-D-799
KadastraleKaart.com kan meer dan je denktOntdek meer ›
Filter op bestemming 50+ datasets Eigendomsdata in één klik Percelen CRM
1.410 m2 - 166 m
Eigenaar opvragen
DDW00-D-799 (Dodewaard)
- 6669 AB
j9hzLe59eFj Jx6ZKADpyhhS biUpgrade naar KadastraleKaart Pro
Verkoopprijs opvragen
Bekijk op Street View
Download DWG/DXF/Excel
zCFbPwUt G 6RAyUpgrade naar KadastraleKaart Pro
UvTgKtpgUpgrade naar KadastraleKaart Pro
0IbBSeX2l1Q MpY0XUpgrade naar KadastraleKaart Pro
xQh btwc mgQUpgrade naar KadastraleKaart Pro
HvPj8aU5NiV3JYZQbUpgrade naar KadastraleKaart Pro
I2fCFXnsUgUpgrade naar KadastraleKaart Pro
c nik4f6EeVA5x5OeUpgrade naar KadastraleKaart Pro
qBxEa I2EZhpZ7D8CU467Upgrade naar KadastraleKaart Pro
D9a eFKKebUpgrade naar KadastraleKaart Pro
xMIyWKytq 9Upgrade naar KadastraleKaart Pro
18/06/2003

Percelen
Gebruik de zoekbalk of klik op een perceel om informatie over het perceel te bekijken.