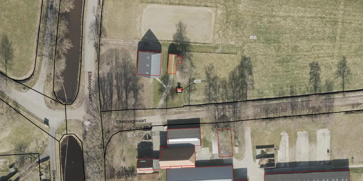
Perceel: DKB00-K-1002
KadastraleKaart.com kan meer dan je denktOntdek meer ›
Filter op bestemming 50+ datasets Eigendomsdata in één klik Percelen CRM
9 m2 - 12 m
Eigenaar opvragen
DKB00-K-1002 (Donkerbroek)
- 8433 LV
AFd8ZlbFpNb93Q sqdYUpgrade naar KadastraleKaart Pro
Bekijk op Street View
Download DWG/DXF/Excel
g AKLU1HoUpgrade naar KadastraleKaart Pro
HGi8Yk9vtIH4Upgrade naar KadastraleKaart Pro
vlbAy958IXUpgrade naar KadastraleKaart Pro
JLw7X2vcXd CoNWM0nbzUpgrade naar KadastraleKaart Pro
HCFDZmXW9sYsUpgrade naar KadastraleKaart Pro
V5BB7299JUpgrade naar KadastraleKaart Pro
jO a0qF9n36nRNdfUpgrade naar KadastraleKaart Pro
6reDRR5qSUpgrade naar KadastraleKaart Pro
PRu7viXoAyUuvZBHJUpgrade naar KadastraleKaart Pro
OJE1SmQNF QzvNCtEAXFUpgrade naar KadastraleKaart Pro
15/01/1998

Percelen
Gebruik de zoekbalk of klik op een perceel om informatie over het perceel te bekijken.