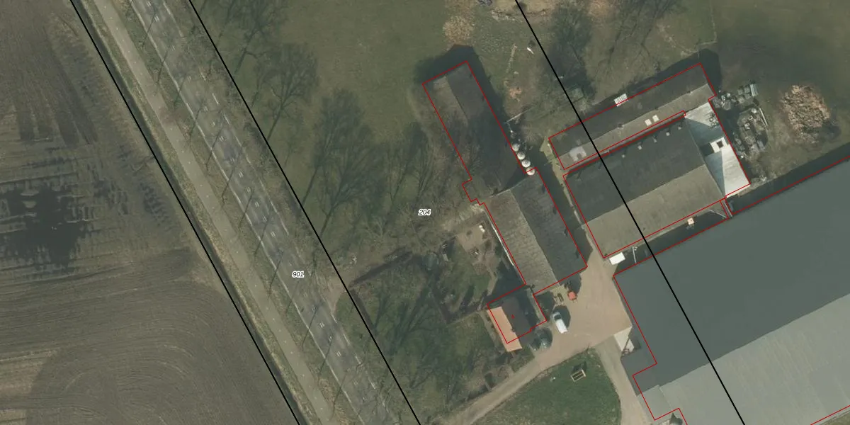
Perceel: DNE00-T-204
KadastraleKaart.com kan meer dan je denktOntdek meer ›
Filter op bestemming 50+ datasets Eigendomsdata in één klik Percelen CRM
9.700 m2 - 448 m
Eigenaar opvragen
DNE00-T-204 (Deurne)
- 5757 PB
zPNz9dkQc7zIODkSEatjQkEUpgrade naar KadastraleKaart Pro
Bekijk op Street View
Download DWG/DXF/Excel
f KLjH9BP49eDgUpgrade naar KadastraleKaart Pro
KmbPb8adTlUpgrade naar KadastraleKaart Pro
6DjnCGWThP8PUpgrade naar KadastraleKaart Pro
9N2AvR58z DSBUpgrade naar KadastraleKaart Pro
lptwNz0W4xUpgrade naar KadastraleKaart Pro
EYy1xn2juIUpgrade naar KadastraleKaart Pro
iSyrpuw R pgUpgrade naar KadastraleKaart Pro
AAGbC qC 8Upgrade naar KadastraleKaart Pro
z7 084ET9J4JSvoK9WbEUpgrade naar KadastraleKaart Pro
vjWWsBPUZqUpgrade naar KadastraleKaart Pro
15/04/2008

Percelen
Gebruik de zoekbalk of klik op een perceel om informatie over het perceel te bekijken.