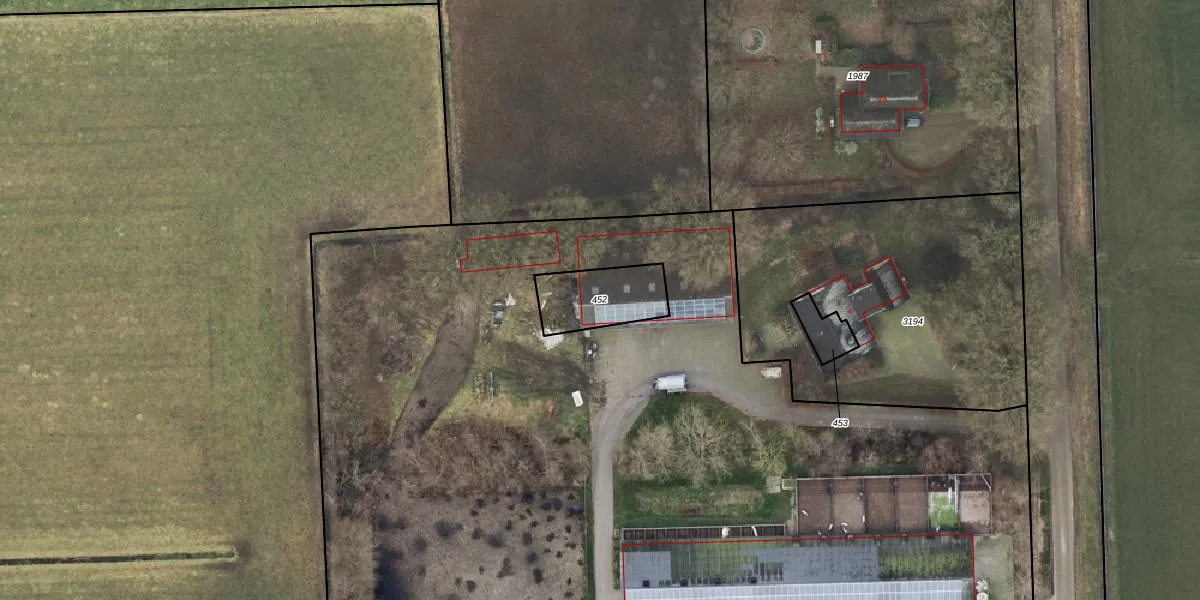
Perceel: DSN01-M-452
KadastraleKaart.com kan meer dan je denktOntdek meer ›
Filter op bestemming 50+ datasets Eigendomsdata in één klik Percelen CRM
Geen adressen bij dit perceel
195 m2 - 62 m
Eigenaar opvragen
DSN01-M-452 (Dalfsen)
- Geen postcode aanwezig
o5NS6Gk1m Qmwt5m3jo0jZ8s88ZUpgrade naar KadastraleKaart Pro
Bekijk op Street View
Download DWG/DXF/Excel
MkfF z0udBUpgrade naar KadastraleKaart Pro
jLy E XPmYvmVMDRUpgrade naar KadastraleKaart Pro
L8QRGOp LlpUpgrade naar KadastraleKaart Pro
XaO Bss0SASixT2g0AhOBiUpgrade naar KadastraleKaart Pro
kyzZ1vrJLUpgrade naar KadastraleKaart Pro
oolPJIJ4wWXUpgrade naar KadastraleKaart Pro
BJ2pTyxxUpgrade naar KadastraleKaart Pro
mWL8EiJv PUbhzUr5Upgrade naar KadastraleKaart Pro
1R NIzd02DUpgrade naar KadastraleKaart Pro
knps84IRFdKYUpgrade naar KadastraleKaart Pro
05/09/2002

Percelen
Gebruik de zoekbalk of klik op een perceel om informatie over het perceel te bekijken.