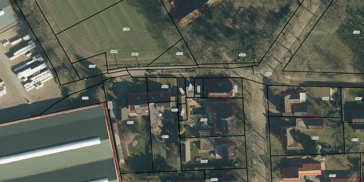
Perceel: DSN02-C-6478
Geen adressen bij dit perceel
64 m2 - 38 m
Eigenaar opvragen
DSN02-C-6478 (Diessen)
- Geen postcode aanwezig
vF4VzS7uZp8er8ryFN9PJCyTvIhgdUpgrade naar KadastraleKaart Pro
Bekijk op Street View
Download DWG/DXF/Excel
Ywn6gd v26wGKgU51stwsUpgrade naar KadastraleKaart Pro
5N9 c NFjOmyUXmUpgrade naar KadastraleKaart Pro
HLJ v8DyUpgrade naar KadastraleKaart Pro
PsRtuL qiik4FJfBFcUpgrade naar KadastraleKaart Pro
rn pG1999pIx7 RCwhrUpgrade naar KadastraleKaart Pro
omsK2On Upgrade naar KadastraleKaart Pro
IVZINjE wwUpgrade naar KadastraleKaart Pro
Mo0 5qqqo2Upgrade naar KadastraleKaart Pro
0KcsCD7iyWaDbS5nUpgrade naar KadastraleKaart Pro
Vwbr1DTj 0lkcGosdf8IxAUpgrade naar KadastraleKaart Pro
13/04/2021

Percelen
Gebruik de zoekbalk of klik op een perceel om informatie over het perceel te bekijken.