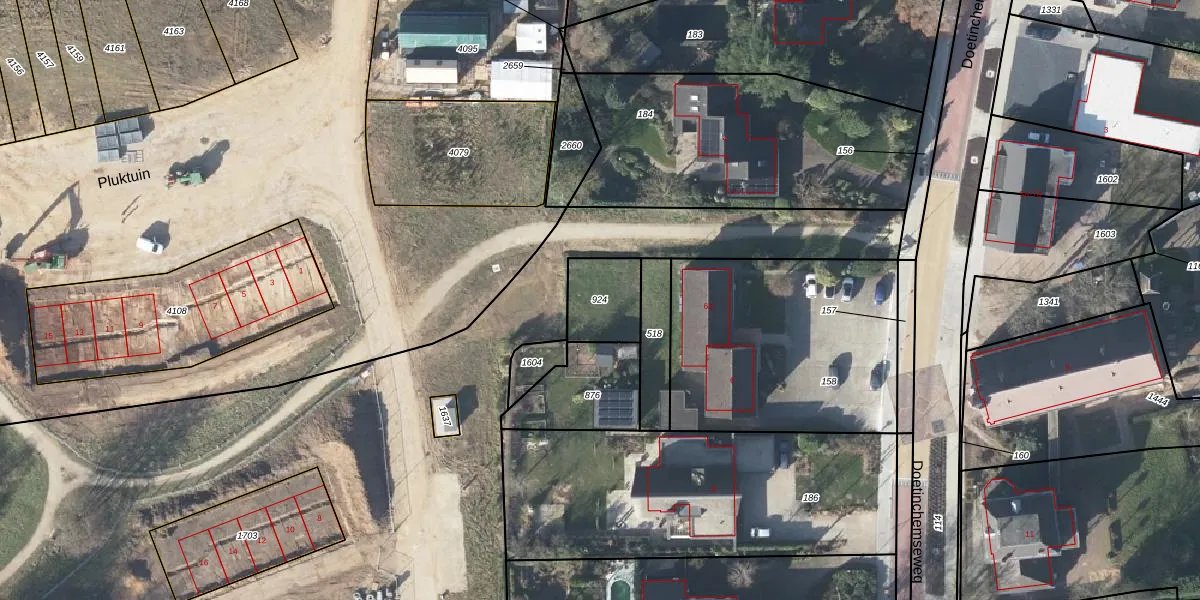
Perceel: DTC01-P-924
Geen adressen bij dit perceel
171 m2 - 52 m
Eigenaar opvragen
DTC01-P-924 (Ambt-Doetinchem)
- Geen postcode aanwezig
leot06zYR8zJg7 1u DvUpgrade naar KadastraleKaart Pro
Bekijk op Street View
Download DWG/DXF/Excel
jA4Bt UPG u7YvFtbgJSUMUpgrade naar KadastraleKaart Pro
Zp3 OLPm3 jSUpgrade naar KadastraleKaart Pro
ask i4VYaRJGUpgrade naar KadastraleKaart Pro
vo f qFloAHNU ZSLjUpgrade naar KadastraleKaart Pro
kjqYHm sI UYs S1vDTGUpgrade naar KadastraleKaart Pro
L ZOgyEYUpgrade naar KadastraleKaart Pro
Ijq ldXiz7ljBqrpxE4uMW Upgrade naar KadastraleKaart Pro
We3kDDhaNEk0FZnOQElMS6tUpgrade naar KadastraleKaart Pro
565URdIIKP vifLRDaDhpUpgrade naar KadastraleKaart Pro
3aaJ2EW iHkvUpgrade naar KadastraleKaart Pro
19/09/2022

Percelen
Gebruik de zoekbalk of klik op een perceel om informatie over het perceel te bekijken.