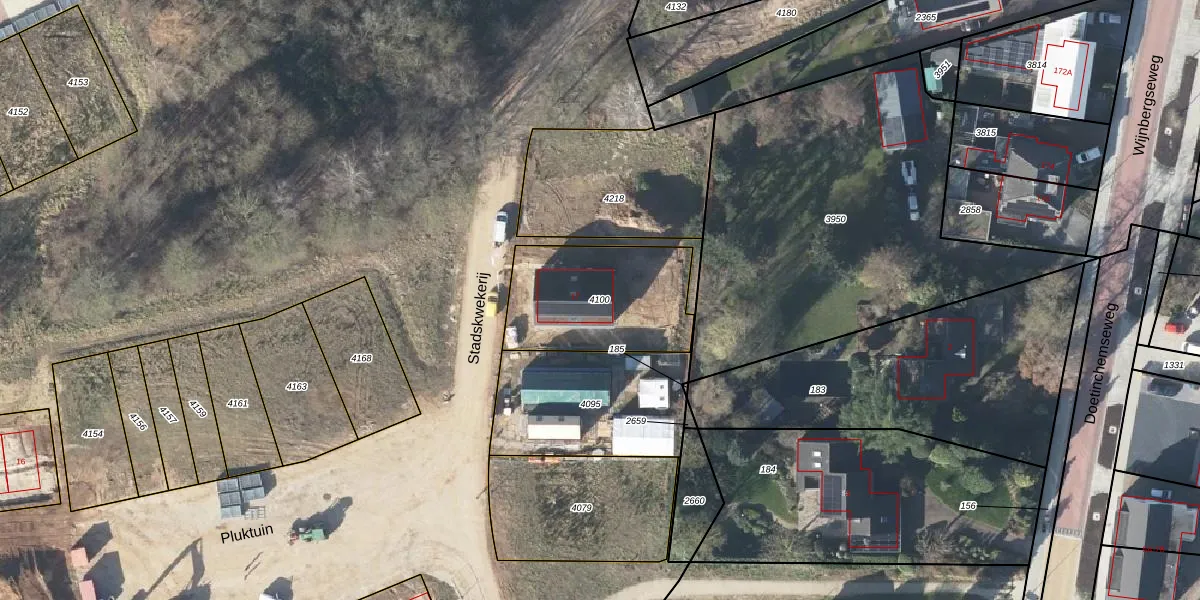
Perceel: DTC02-B-4100
KadastraleKaart.com kan meer dan je denktOntdek meer ›
Filter op bestemming 50+ datasets Eigendomsdata in één klik Percelen CRM
529 m2 - 98 m
Eigenaar opvragen
DTC02-B-4100 (Stad-Doetinchem)
- 7007 CG
780YLie TWM3 y7tsR5 kYG8jYUpgrade naar KadastraleKaart Pro
Bekijk op Street View
Download DWG/DXF/Excel
bU 3WUY8yYlX Sfds5Upgrade naar KadastraleKaart Pro
NwnpjvyUTjXgFn gnmn aEUpgrade naar KadastraleKaart Pro
pV8WymQf8wyyK2iUpgrade naar KadastraleKaart Pro
Ot55gZ776 qCRIaNKoUpgrade naar KadastraleKaart Pro
yXnsPQf UdK1Upgrade naar KadastraleKaart Pro
bDbnP VaW7HIWUpgrade naar KadastraleKaart Pro
uA q7d mglV 5gwBvUUpgrade naar KadastraleKaart Pro
KLModB0eNMh ICpq0 SBqLUpgrade naar KadastraleKaart Pro
JPEubU8yvZ vUpgrade naar KadastraleKaart Pro
6gOob72QzUUpgrade naar KadastraleKaart Pro
15/05/2024

Percelen
Gebruik de zoekbalk of klik op een perceel om informatie over het perceel te bekijken.