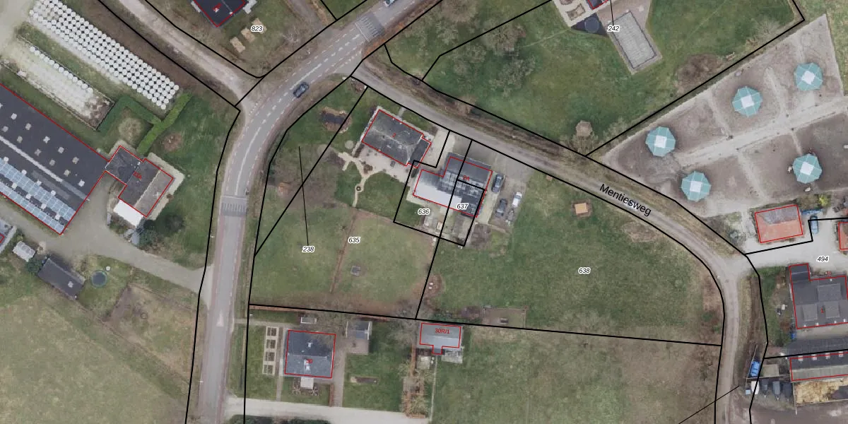
Perceel: EBG01-E-636
KadastraleKaart.com kan meer dan je denktOntdek meer ›
Filter op bestemming 50+ datasets Eigendomsdata in één klik Percelen CRM
220 m2 - 72 m
Eigenaar opvragen
EBG01-E-636 (Elburg)
- 8081 RZ
ImwH9j622TeiYXDZtwcb0rV39cCzP Upgrade naar KadastraleKaart Pro
Bekijk op Street View
Download DWG/DXF/Excel
djE rMoRXuIY GMT6l2Upgrade naar KadastraleKaart Pro
U CuXX0SzoCFUpgrade naar KadastraleKaart Pro
VeNFXepvzUpgrade naar KadastraleKaart Pro
RxxD6 uGItUpgrade naar KadastraleKaart Pro
f8iFxOwKN 6wVwldE9vCUpgrade naar KadastraleKaart Pro
WpmQhshQANUpgrade naar KadastraleKaart Pro
3OyrwSs0fcWXvMHqpkcG Upgrade naar KadastraleKaart Pro
KfZwmgdOUpgrade naar KadastraleKaart Pro
nERSBoEisPIfUpgrade naar KadastraleKaart Pro
3xm0 cCkUpgrade naar KadastraleKaart Pro
31/03/2017

Percelen
Gebruik de zoekbalk of klik op een perceel om informatie over het perceel te bekijken.