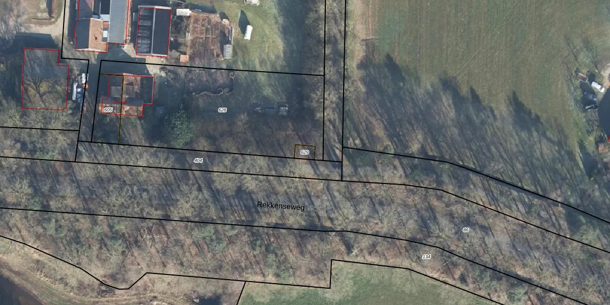
Perceel: EBG02-O-629
Geen adressen bij dit perceel
29 m2 - 22 m
Eigenaar opvragen
EBG02-O-629 (Eibergen)
- Geen postcode aanwezig
euOe6sv6yMCNCzYuIXN8S0z171vsVhUpgrade naar KadastraleKaart Pro
Bekijk op Street View
Download DWG/DXF/Excel
cj yK ZT3sUpgrade naar KadastraleKaart Pro
7 tDF gWZ1Upgrade naar KadastraleKaart Pro
Caf yp QngU6BuyN 3IAUpgrade naar KadastraleKaart Pro
mPd68hy sLrUxUpgrade naar KadastraleKaart Pro
sSeSZpoxUpgrade naar KadastraleKaart Pro
ZhzuCNbz TCAIz81 bvUpgrade naar KadastraleKaart Pro
EbkVmnmbYO7EcnfM95RUpgrade naar KadastraleKaart Pro
bZNsuAgs0C46U9 Upgrade naar KadastraleKaart Pro
OH3y bmP3BBfUpgrade naar KadastraleKaart Pro
CIDAw6qau Upgrade naar KadastraleKaart Pro
16/12/2025

Percelen
Gebruik de zoekbalk of klik op een perceel om informatie over het perceel te bekijken.