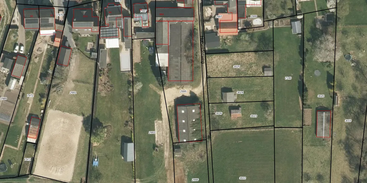
Perceel: ECH00-K-2995
KadastraleKaart.com kan meer dan je denktOntdek meer ›
Filter op bestemming 50+ datasets Eigendomsdata in één klik Percelen CRM
1.940 m2 - 219 m
Eigenaar opvragen
ECH00-K-2995 (Echt)
- 6102 TX
20L jRAPlp7W 4tDwwvt8Upgrade naar KadastraleKaart Pro
Bekijk op Street View
Download DWG/DXF/Excel
rNaA3yQzMRf01y slWyUpgrade naar KadastraleKaart Pro
iZVIvYjBv m ovnlUpgrade naar KadastraleKaart Pro
NQUi 4ClIyFTm fGSE Upgrade naar KadastraleKaart Pro
nUwvrzH9uy7H8hmxAfUpgrade naar KadastraleKaart Pro
bj k4ESgMDshndv4xd6eEL Upgrade naar KadastraleKaart Pro
Q hQecz tnUpgrade naar KadastraleKaart Pro
KJZ qiRXf7lcnh ZSUpgrade naar KadastraleKaart Pro
Gi 1zOy r78Upgrade naar KadastraleKaart Pro
g9qfej0dgTk3Vou1fZoujrtUpgrade naar KadastraleKaart Pro
4U6jT n7BWEWDJoc6RuVUpgrade naar KadastraleKaart Pro
18/12/2007

Percelen
Gebruik de zoekbalk of klik op een perceel om informatie over het perceel te bekijken.