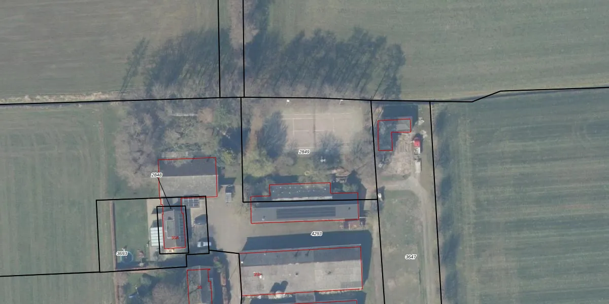
Perceel: EML00-H-2849

Adres bij perceel

Geen adressen bij dit perceel

Perceeloppervlakte & perceelomtrek

1.365 m2 - 154 m

Eigenaar van het perceel

Eigenaar opvragen

Kadastrale aanduiding

EML00-H-2849 (Ermelo)

Postcode in perceel

    Geen postcode aanwezig

Type eigenaar

xWQ8HzBZbO87iqpxHpUpgrade naar KadastraleKaart Pro

Google Street View

Bekijk op Street View

Download

Download DWG/DXF/Excel

Gerelateerde percelen

BXHs8Wv3yMS4WIUpgrade naar KadastraleKaart Pro

Bebouwd/onbebouwd/water/groen

9 9tHW dXV k4ZxtUpgrade naar KadastraleKaart Pro
Administratieve eenheden
Bc85dEcXWL3BvjvoKcG1lUpgrade naar KadastraleKaart Pro

Appartementsrechten

dbrLAn6J7QYcmRLUpgrade naar KadastraleKaart Pro

Vergunningverlenende instanties

IODlH9sdUpgrade naar KadastraleKaart Pro

Bedekking (BGT)

pqiD6tXqkdnjp7t TJHftiUpgrade naar KadastraleKaart Pro

Publiekrechtelijke beperkingen

rCbMkntX6cb6RkkUpgrade naar KadastraleKaart Pro

Grensnauwkeurigheid

1lVZEGiUQYoj5 fKJgG5QUpgrade naar KadastraleKaart Pro

Coördinaten hoekpunten perceel

CKKdyqRT7AwUp0cgP 2VTUpgrade naar KadastraleKaart Pro

Hoogteligging

hR3ubXSv2 8m35IsscwLs0Upgrade naar KadastraleKaart Pro

Laatst gewijzigd

08/10/2008

Kadastrale kaart met maatvoering 59,95
Kadastrale kaart pakket 28,95

Percelen

Gebruik de zoekbalk of klik op een perceel om informatie over het perceel te bekijken.
Locatie
Meten
Lagen
Download