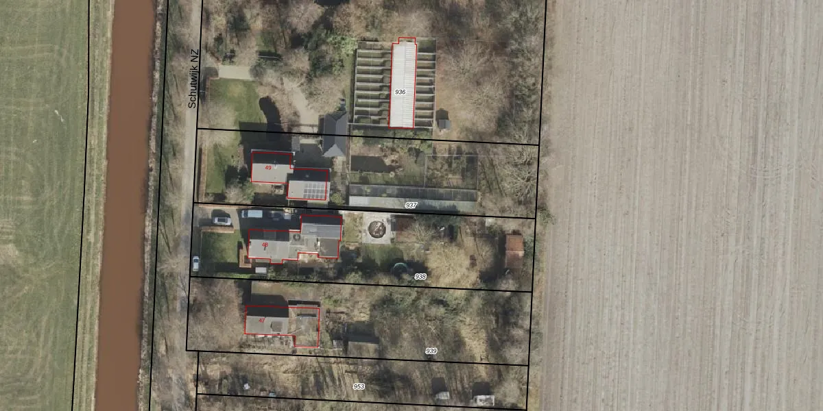
Perceel: EMN00-AF-937
KadastraleKaart.com kan meer dan je denktOntdek meer ›
Filter op bestemming 50+ datasets Eigendomsdata in één klik Percelen CRM
1.500 m2 - 203 m
Eigenaar opvragen
EMN00-AF-937 (Emmen)
- 7891 TK
2b 4hH QWWugOa560xO Vpz9xc4IbUpgrade naar KadastraleKaart Pro
Bekijk op Street View
Download DWG/DXF/Excel
6 CdGIsbfnGTBBd ZIAL9GUpgrade naar KadastraleKaart Pro
7qn9vw4 5ZcGGG8SqTQ 2WUpgrade naar KadastraleKaart Pro
oCxvl3WUtMuClLUpgrade naar KadastraleKaart Pro
qLuYZvoEHmxr8qUiOcRhUpgrade naar KadastraleKaart Pro
oxOxQDiS zBCnfJeUpgrade naar KadastraleKaart Pro
jh1Ra 78M 0i3 NYUpgrade naar KadastraleKaart Pro
SnXcvDmF 7b2sJHhVFUpgrade naar KadastraleKaart Pro
6je8WklZetOYQAUpgrade naar KadastraleKaart Pro
HRFZBJEacmnipe6 xqxWFUpgrade naar KadastraleKaart Pro
iWDNNFzab XjhUpgrade naar KadastraleKaart Pro
22/03/2010

Percelen
Gebruik de zoekbalk of klik op een perceel om informatie over het perceel te bekijken.