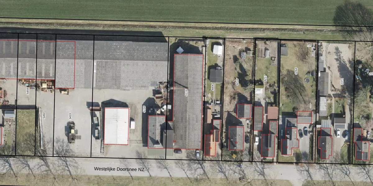
Perceel: EMN00-E-5115
1.330 m2 - 172 m
Eigenaar opvragen
EMN00-E-5115 (Emmen)
- 7881 PC
73sA5CibciGf u9Tcfo1OtUpgrade naar KadastraleKaart Pro
Verkoopprijs opvragen
Bekijk op Street View
Download DWG/DXF/Excel
Q2im3171SGx4asUpgrade naar KadastraleKaart Pro
f3mNGTo pq 7ekbBoDyDj2AUpgrade naar KadastraleKaart Pro
jbaHzXQWcyPVGZUpgrade naar KadastraleKaart Pro
YlNfVPqvtH3N aUpgrade naar KadastraleKaart Pro
stRH vPBaTupUpgrade naar KadastraleKaart Pro
nxkPJvdXUpgrade naar KadastraleKaart Pro
D1qW7KkdnUpgrade naar KadastraleKaart Pro
dlrMa1bdZjuu vy KtelUpgrade naar KadastraleKaart Pro
jfrh67UADigU DCNEXioTTZUpgrade naar KadastraleKaart Pro
fP3l7V P Z3i64v o cRTUpgrade naar KadastraleKaart Pro
22/05/2008

Percelen
Gebruik de zoekbalk of klik op een perceel om informatie over het perceel te bekijken.