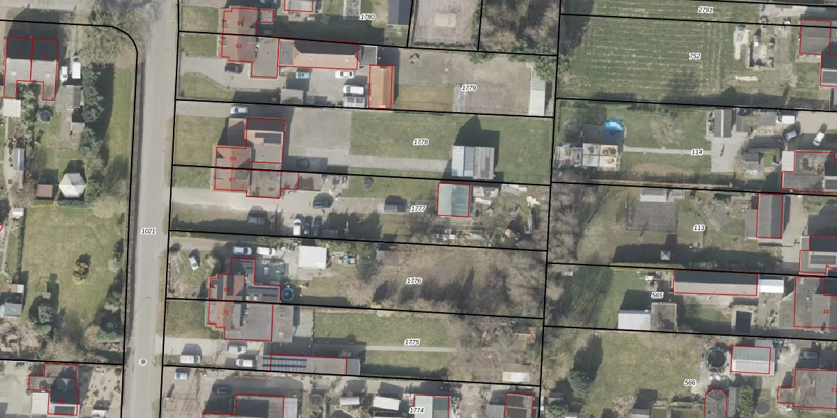
Perceel: EMN00-M-1777
KadastraleKaart.com kan meer dan je denktOntdek meer ›
Filter op bestemming 50+ datasets Eigendomsdata in één klik Percelen CRM
1.421 m2 - 212 m
Eigenaar opvragen
EMN00-M-1777 (Emmen)
- 7894 BJ
srMwkQfbLE vNptgeilLaktZIxbUpgrade naar KadastraleKaart Pro
Verkoopprijs opvragen
Bekijk op Street View
Download DWG/DXF/Excel
KTY0 2ZVUpgrade naar KadastraleKaart Pro
BmKkt SBkJYUpgrade naar KadastraleKaart Pro
TI7FVUfzN4daclYiUpgrade naar KadastraleKaart Pro
6ZwNQiNUDU4A vCwrfwvUpgrade naar KadastraleKaart Pro
Yzam zLYEs4ZhuzEwUpgrade naar KadastraleKaart Pro
uvQtwrIyUpgrade naar KadastraleKaart Pro
mx5jEagutWCGUpgrade naar KadastraleKaart Pro
3wF8qcOUpgrade naar KadastraleKaart Pro
uBwutAQ1Upgrade naar KadastraleKaart Pro
uSzAoJ0bAzUpgrade naar KadastraleKaart Pro
06/11/2002

Percelen
Gebruik de zoekbalk of klik op een perceel om informatie over het perceel te bekijken.