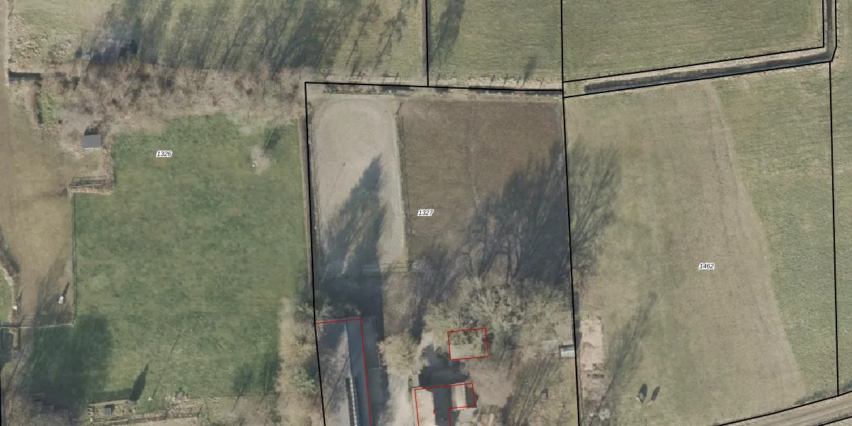
Perceel: EPE00-N-1327
KadastraleKaart.com kan meer dan je denktOntdek meer ›
Filter op bestemming 50+ datasets Eigendomsdata in één klik Percelen CRM
5.460 m2 - 301 m
Eigenaar opvragen
EPE00-N-1327 (Epe en Oene)
- 8166 JS
QL7FdT0NDYYi10YCUpgrade naar KadastraleKaart Pro
Bekijk op Street View
Download DWG/DXF/Excel
XesxmTYu8MUpgrade naar KadastraleKaart Pro
brSkeW 1jnDi VvAHWgYm0vUpgrade naar KadastraleKaart Pro
h8SUuM ZuA6eu IxOcUpgrade naar KadastraleKaart Pro
Ok vFl Su6lJFuov7cGeNUpgrade naar KadastraleKaart Pro
z4wKIsjvrFUpgrade naar KadastraleKaart Pro
CiDBEf02Upgrade naar KadastraleKaart Pro
cL mDe5188s5J RUpgrade naar KadastraleKaart Pro
I4kfzsHAbpPCaQiim2tfH6Upgrade naar KadastraleKaart Pro
1 S9c11LMBwq MdvUMrciUpgrade naar KadastraleKaart Pro
U Ba9 eKEZNk5H4fgU8NUpgrade naar KadastraleKaart Pro
04/07/2000

Percelen
Gebruik de zoekbalk of klik op een perceel om informatie over het perceel te bekijken.