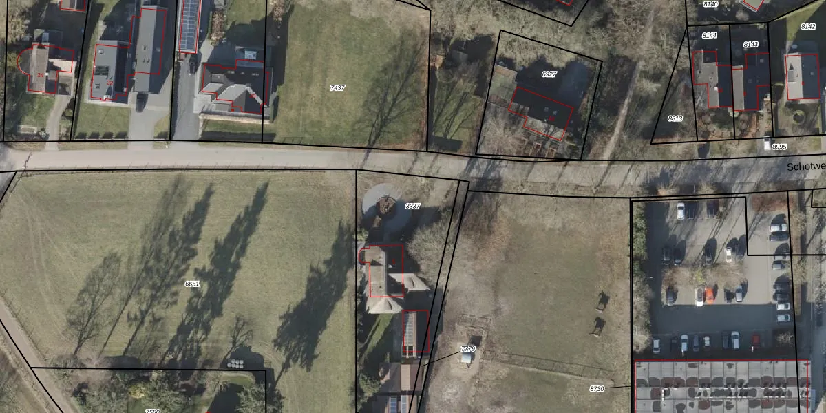
Perceel: EPE00-U-3337
KadastraleKaart.com kan meer dan je denktOntdek meer ›
Filter op bestemming 50+ datasets Eigendomsdata in één klik Percelen CRM
1.150 m2 - 159 m
Eigenaar opvragen
EPE00-U-3337 (Epe en Oene)
- 8162 GM
AHD9pQ SSSp9noTdushGcNfl97 vIFUpgrade naar KadastraleKaart Pro
Bekijk op Street View
Download DWG/DXF/Excel
W N P7xLsqkW hJ9rUpgrade naar KadastraleKaart Pro
IZn 0yitgie27Z8muixZUpgrade naar KadastraleKaart Pro
bOy2OnJnUgRvPFUpgrade naar KadastraleKaart Pro
AD79husB2SQUpgrade naar KadastraleKaart Pro
ezxdpVEx42GvYd Ro LUpgrade naar KadastraleKaart Pro
TmGg9 H0noUpgrade naar KadastraleKaart Pro
5ylKgMD gK CeKFUpgrade naar KadastraleKaart Pro
LYMO39 hqUpgrade naar KadastraleKaart Pro
E5214bRAaX r K D7D e Upgrade naar KadastraleKaart Pro
UgNmz3mZUUpgrade naar KadastraleKaart Pro
11/04/2013

Percelen
Gebruik de zoekbalk of klik op een perceel om informatie over het perceel te bekijken.