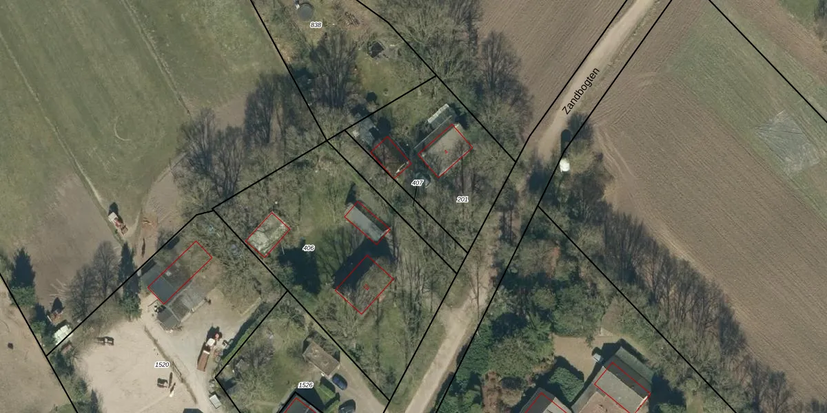
Perceel: ESL00-K-407
KadastraleKaart.com kan meer dan je denktOntdek meer ›
Filter op bestemming 50+ datasets Eigendomsdata in één klik Percelen CRM
Geen adressen bij dit perceel
220 m2 - 98 m
Eigenaar opvragen
ESL00-K-407 (Eersel)
- Geen postcode aanwezig
2DQ 6PBebuoALWo 7z0enUpgrade naar KadastraleKaart Pro
Bekijk op Street View
Download DWG/DXF/Excel
Dx Tp7Z0RcRtb8jIIFHCAUpgrade naar KadastraleKaart Pro
qNMv QoQjRytxLVuWcYEuUpgrade naar KadastraleKaart Pro
sw02fPGb 7weueXkUpgrade naar KadastraleKaart Pro
HL641 sj3 x8oO9Upgrade naar KadastraleKaart Pro
9i1c C CUpgrade naar KadastraleKaart Pro
a M B9rA2m2tZBv9 Y5ZfhUpgrade naar KadastraleKaart Pro
AmTfMdZb VAqWe3cYIZDrUpgrade naar KadastraleKaart Pro
y4 L5e qZwrSlP7 ki5fzJUpgrade naar KadastraleKaart Pro
fSQOJvGQ4o7HH3ZwiJCUpgrade naar KadastraleKaart Pro
L 0ZnmA7 r7iQoN nAvUpgrade naar KadastraleKaart Pro
14/01/2008

Percelen
Gebruik de zoekbalk of klik op een perceel om informatie over het perceel te bekijken.