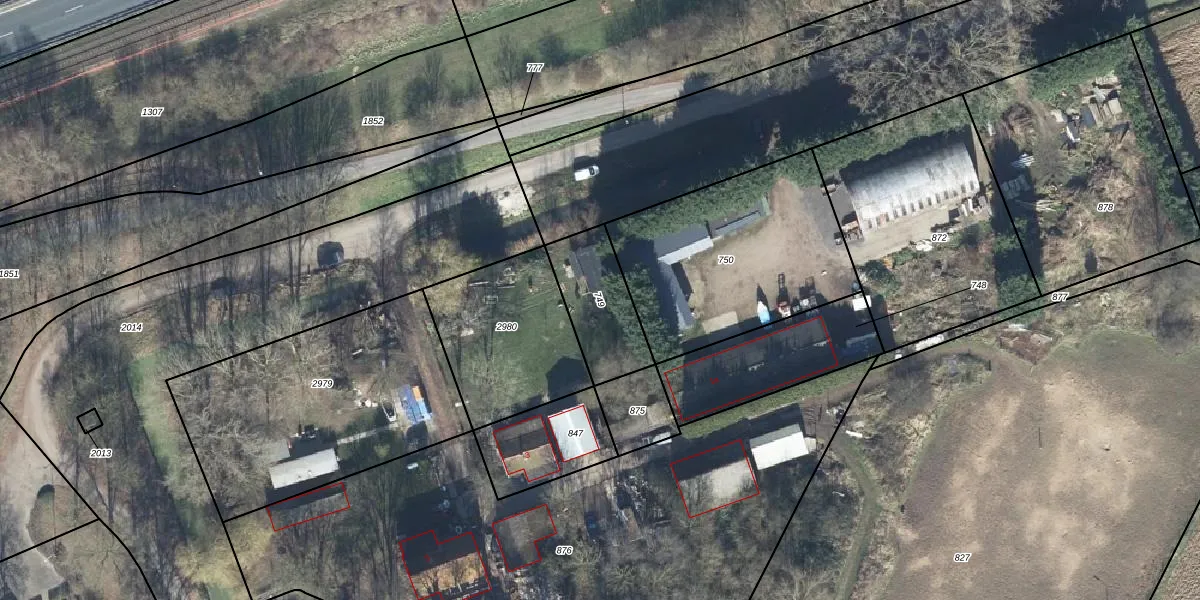
Perceel: ETD00-H-749
KadastraleKaart.com kan meer dan je denktOntdek meer ›
Filter op bestemming 50+ datasets Eigendomsdata in één klik Percelen CRM
Geen adressen bij dit perceel
270 m2 - 71 m
Eigenaar opvragen
ETD00-H-749 (Echteld)
- Geen postcode aanwezig
RDHao3 UduNHAIjE2Upgrade naar KadastraleKaart Pro
Bekijk op Street View
Download DWG/DXF/Excel
1CzyO25E1Upgrade naar KadastraleKaart Pro
tB I6aWQGx7tUpgrade naar KadastraleKaart Pro
tMyhOjknArU3Hok0BcyUpgrade naar KadastraleKaart Pro
z CKVYFzRtff1fRjDdw6 ZRUpgrade naar KadastraleKaart Pro
iN2OB QHaHN5fm icdUpgrade naar KadastraleKaart Pro
517mPfrCwe YoUpgrade naar KadastraleKaart Pro
NhLC5Ac3i8EHrY2UrL92QIhUpgrade naar KadastraleKaart Pro
UD UrS eps23AdfnUpgrade naar KadastraleKaart Pro
N3EiPc9vue 2Upgrade naar KadastraleKaart Pro
6 ulmVSZaT1oS 7 Upgrade naar KadastraleKaart Pro
02/08/2007

Percelen
Gebruik de zoekbalk of klik op een perceel om informatie over het perceel te bekijken.