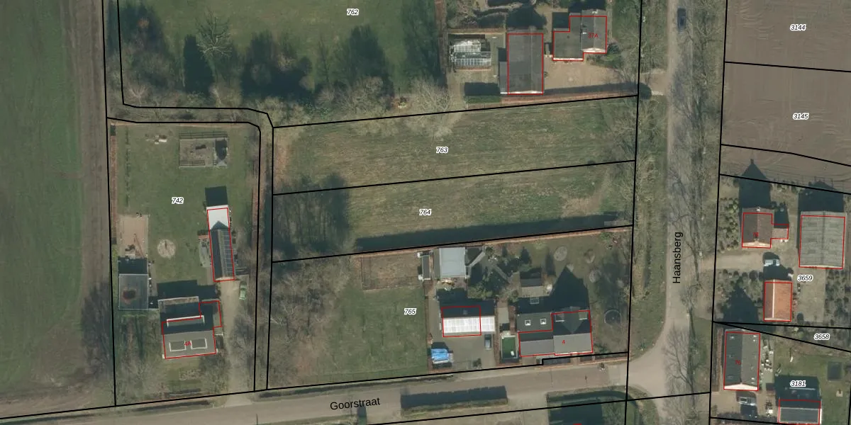
Perceel: ETN01-O-764
KadastraleKaart.com kan meer dan je denktOntdek meer ›
Filter op bestemming 50+ datasets Eigendomsdata in één klik Percelen CRM
Geen adressen bij dit perceel
1.320 m2 - 202 m
Eigenaar opvragen
ETN01-O-764 (Etten-Leur)
- Geen postcode aanwezig
3dP5Aioi9kDB2NXZ5VT5VfJcUpgrade naar KadastraleKaart Pro
Bekijk op Street View
Download DWG/DXF/Excel
oVtRUrc hGya1W03J 49Upgrade naar KadastraleKaart Pro
kKpp5V0 HUpgrade naar KadastraleKaart Pro
I8BiYUzDuUpgrade naar KadastraleKaart Pro
tJ4gemdEXG1kdcIA7z4Upgrade naar KadastraleKaart Pro
fw5i4 KaudWWvwMUpgrade naar KadastraleKaart Pro
RSlCVs1wtYBIUpgrade naar KadastraleKaart Pro
MkGGGTncvwBKRaPrrcQ Upgrade naar KadastraleKaart Pro
ri15CAYdAMWabjf8ivUpgrade naar KadastraleKaart Pro
xwTDFukdx Upgrade naar KadastraleKaart Pro
lAbJo Wpa Upgrade naar KadastraleKaart Pro
16/01/2009

Percelen
Gebruik de zoekbalk of klik op een perceel om informatie over het perceel te bekijken.