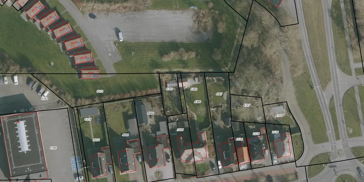
Perceel: FNK00-B-5392
KadastraleKaart.com kan meer dan je denktOntdek meer ›
Filter op bestemming 50+ datasets Eigendomsdata in één klik Percelen CRM
Geen adressen bij dit perceel
54 m2 - 49 m
Eigenaar opvragen
FNK00-B-5392 (Franeker)
- Geen postcode aanwezig
T9a7Ev3UmdIAh5apHQtM892jT6TlMkpUpgrade naar KadastraleKaart Pro
Bekijk op Street View
Download DWG/DXF/Excel
yoAflj9dzKcVa5ppDUpgrade naar KadastraleKaart Pro
Fd EaX6PNb AUpgrade naar KadastraleKaart Pro
i 020qna5EbdTUpgrade naar KadastraleKaart Pro
kdB IyyMZUpgrade naar KadastraleKaart Pro
kn5 R xd6h7DFaUUpgrade naar KadastraleKaart Pro
m h4qzdN84t cUpgrade naar KadastraleKaart Pro
RaM 0V4GCMhK89fa hSAe Upgrade naar KadastraleKaart Pro
sMwJxOB 3gXVIcLA3 KRQbUpgrade naar KadastraleKaart Pro
oJPMPx 9Oosa8WdUpgrade naar KadastraleKaart Pro
GitlGpNz7 1F 1qVWSPUpgrade naar KadastraleKaart Pro
29/05/2013

Percelen
Gebruik de zoekbalk of klik op een perceel om informatie over het perceel te bekijken.