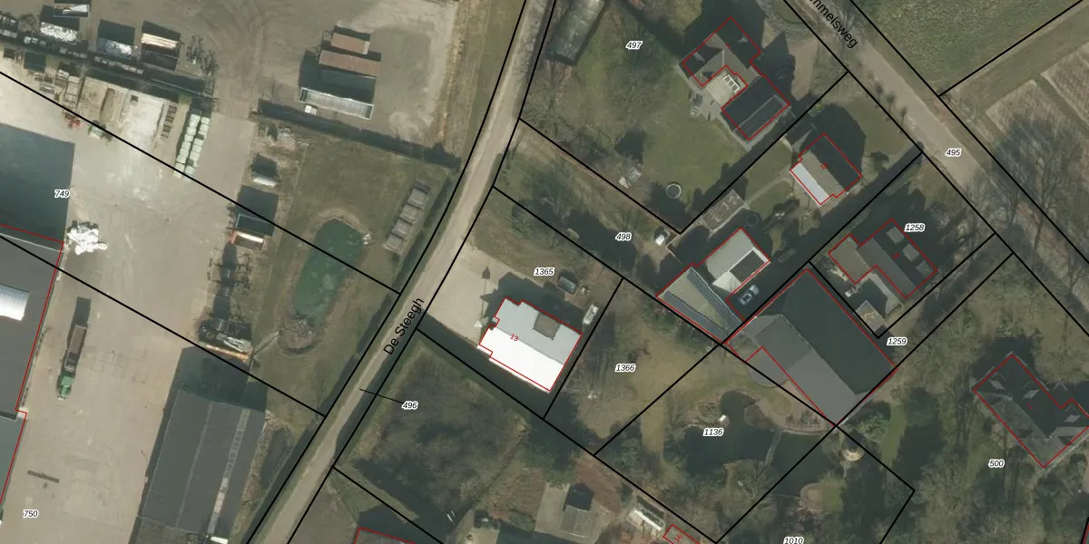
Perceel: GBV00-H-1365
855 m2 - 118 m
Eigenaar opvragen
GBV00-H-1365 (Grubbenvorst)
- 5973 PZ
aV OzGmI Vl tAU6m91E YUpgrade naar KadastraleKaart Pro
Bekijk op Street View
Download DWG/DXF/Excel
z0V5Ep 9ghwOuqg4ls8nwgAUpgrade naar KadastraleKaart Pro
Hq QrWJtm3cntiQAjdUpgrade naar KadastraleKaart Pro
HIF z0fN Upgrade naar KadastraleKaart Pro
B5ZK4Fx07A8dCueUpgrade naar KadastraleKaart Pro
wJ4OjFJg759Yo 73XH1Upgrade naar KadastraleKaart Pro
eo2 nNSSa5Kki60OHzvDAUUpgrade naar KadastraleKaart Pro
NnvY3 jyr BLmilOC5Upgrade naar KadastraleKaart Pro
1 JzVfyb P080lQZm FUpgrade naar KadastraleKaart Pro
X0hasDrpx SH vUpgrade naar KadastraleKaart Pro
gPjpvoLvMJGhGZ OUpgrade naar KadastraleKaart Pro
30/05/2024

Percelen
Gebruik de zoekbalk of klik op een perceel om informatie over het perceel te bekijken.