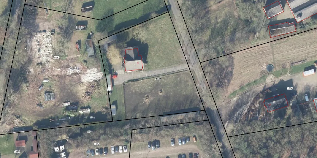
Perceel: GDR03-I-1931
3.025 m2 - 225 m
Eigenaar opvragen
GDR03-I-1931 (Garderen)
- 3776 MT
M 2grLVifE8gQG7l 0VzxAT fYoUpgrade naar KadastraleKaart Pro
Verkoopprijs opvragen
Bekijk op Street View
Download DWG/DXF/Excel
30UeJoFDeO6klLP9uWtGrUpgrade naar KadastraleKaart Pro
75hb4a21e9QcK4 c Z31GUpgrade naar KadastraleKaart Pro
Ibe NiLopQxlioH0RUpgrade naar KadastraleKaart Pro
rlxIZiqD23r2v 54nVAbUpgrade naar KadastraleKaart Pro
VWo2wLISgTKbhxSFfwCUpgrade naar KadastraleKaart Pro
22Wzlak1P0DOU3Upgrade naar KadastraleKaart Pro
aRImcPcD GUzU DaUpgrade naar KadastraleKaart Pro
lVaMS 6oTZhGQOUpgrade naar KadastraleKaart Pro
LM1nyoU9AU4q 8QUpgrade naar KadastraleKaart Pro
Yx5IiuR r qTupMaWgKrGUpgrade naar KadastraleKaart Pro
22/10/2008

Percelen
Gebruik de zoekbalk of klik op een perceel om informatie over het perceel te bekijken.