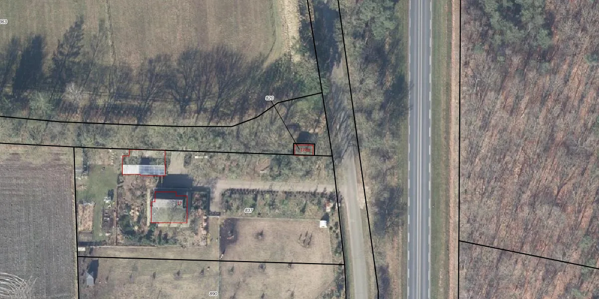
Perceel: GDR03-K-820
35 m2 - 22 m
Eigenaar opvragen
GDR03-K-820 (Garderen)
- 3776 LW
bJfKWgp MinJqTaRlA HcdgZPOkUpgrade naar KadastraleKaart Pro
Bekijk op Street View
Download DWG/DXF/Excel
J9DgkGQbIxNFrW H4qUpgrade naar KadastraleKaart Pro
ITf5fHT1oPZreHiUpgrade naar KadastraleKaart Pro
U6PZ8rQ vyqaVCA9KwRhYUpgrade naar KadastraleKaart Pro
thBpWy lAtSoZPjeUpgrade naar KadastraleKaart Pro
nGVTetdvYQFGMkwTJUpgrade naar KadastraleKaart Pro
0a4BqZT89M B1 Z4kfcUpgrade naar KadastraleKaart Pro
K8ftKjzpRbHUpgrade naar KadastraleKaart Pro
Ky6TbEnfd7SILa15w2Upgrade naar KadastraleKaart Pro
eDdkUjnmnF r dY0 J Upgrade naar KadastraleKaart Pro
Gm iaZ jUpgrade naar KadastraleKaart Pro
07/03/2022

Percelen
Gebruik de zoekbalk of klik op een perceel om informatie over het perceel te bekijken.