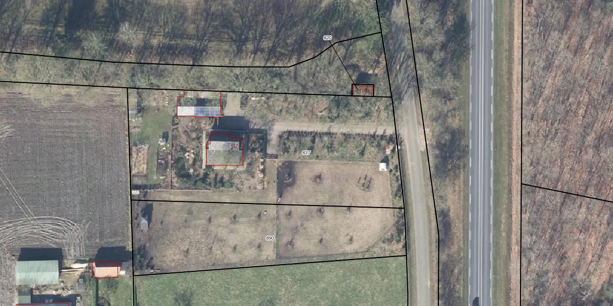
Perceel: GDR03-K-837
2.970 m2 - 249 m
Eigenaar opvragen
GDR03-K-837 (Garderen)
- 3776 LW
pae2vo U6N2CA9u JclICDQlk9w1i Upgrade naar KadastraleKaart Pro
Verkoopprijs opvragen
Bekijk op Street View
Download DWG/DXF/Excel
3axRHkwxoEUpgrade naar KadastraleKaart Pro
PbVHVkgMYWK FVUEcNbr Upgrade naar KadastraleKaart Pro
Jcr gREZegJb1fGYoUpgrade naar KadastraleKaart Pro
n9KkipnIUpgrade naar KadastraleKaart Pro
xWPXzI oJUictHA3Upgrade naar KadastraleKaart Pro
H367Z4fLRYAm1 cN dDIuzUpgrade naar KadastraleKaart Pro
HVhREOI6KujMBsi2Upgrade naar KadastraleKaart Pro
UgJ5COhuUpgrade naar KadastraleKaart Pro
des 9 3L96ZUpgrade naar KadastraleKaart Pro
hq2sN SwBWNq1Upgrade naar KadastraleKaart Pro
07/03/2022

Percelen
Gebruik de zoekbalk of klik op een perceel om informatie over het perceel te bekijken.