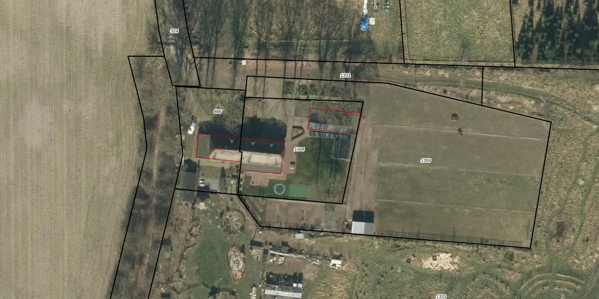
Perceel: GFN00-D-1094
KadastraleKaart.com kan meer dan je denktOntdek meer ›
Filter op bestemming 50+ datasets Eigendomsdata in één klik Percelen CRM
1.250 m2 - 143 m
Eigenaar opvragen
GFN00-D-1094 (Geffen)
- 5386 KR
Xj5dvceQPiUWPV Px zUpgrade naar KadastraleKaart Pro
Verkoopprijs opvragen
Bekijk op Street View
Download DWG/DXF/Excel
3enadcbv 2L DW nErUpgrade naar KadastraleKaart Pro
yMVV9Ta4RbxQ33SZD Cs 1Upgrade naar KadastraleKaart Pro
MvlnR2Hq5nmsFc r Upgrade naar KadastraleKaart Pro
I8YZME 7OPBeniHUpgrade naar KadastraleKaart Pro
8 qTwHHaEkMasW iyvKqUpgrade naar KadastraleKaart Pro
uynP2w RpUpgrade naar KadastraleKaart Pro
vN J iBxu Upgrade naar KadastraleKaart Pro
rdYfR Rj0hhBDN 4LH5beUpgrade naar KadastraleKaart Pro
2jt lO04nZeUpgrade naar KadastraleKaart Pro
9fbJNX5Pqv3cd0 8OrJUpgrade naar KadastraleKaart Pro
08/09/2010

Percelen
Gebruik de zoekbalk of klik op een perceel om informatie over het perceel te bekijken.