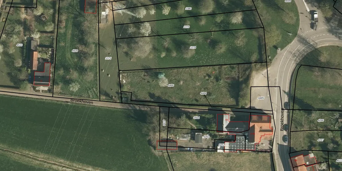
Perceel: GLE02-A-4486
Geen adressen bij dit perceel
1.885 m2 - 217 m
Eigenaar opvragen
GLE02-A-4486 (Geulle)
- Geen postcode aanwezig
yF4OitHhS9AhYtb T Mz NVUpgrade naar KadastraleKaart Pro
Bekijk op Street View
Download DWG/DXF/Excel
BhPP05Fa0tI hYLG tUpgrade naar KadastraleKaart Pro
2bvGVHQFTN0EvwqUpgrade naar KadastraleKaart Pro
JQ AnaZ1AUpgrade naar KadastraleKaart Pro
2izWKRiKUpgrade naar KadastraleKaart Pro
tezQUzTDUpgrade naar KadastraleKaart Pro
WWQg8t1 YCRz5jNJx7KhcUpgrade naar KadastraleKaart Pro
tCC1MPgj opUpgrade naar KadastraleKaart Pro
yO gZjJja9QEhUpgrade naar KadastraleKaart Pro
RWFDduYShSpA 20797ns7 4Upgrade naar KadastraleKaart Pro
gQig1NVrRu8ofkco TA UUpgrade naar KadastraleKaart Pro
10/08/2007

Percelen
Gebruik de zoekbalk of klik op een perceel om informatie over het perceel te bekijken.