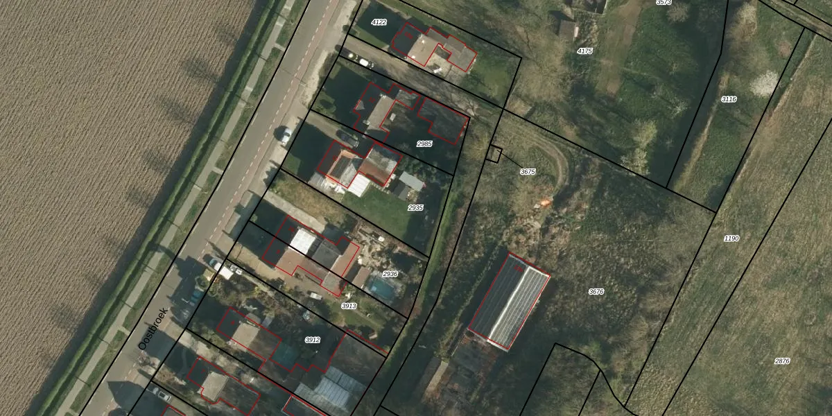
Perceel: GLE02-B-2935
710 m2 - 116 m
Eigenaar opvragen
GLE02-B-2935 (Geulle)
- 6243 CA
Vjr Ix csbpFbM vJUpgrade naar KadastraleKaart Pro
Verkoopprijs opvragen
Bekijk op Street View
Download DWG/DXF/Excel
k RaDObvCIninUpgrade naar KadastraleKaart Pro
pD ioPF0QxAvfGxUpgrade naar KadastraleKaart Pro
EePUDHQKtZ TUpgrade naar KadastraleKaart Pro
eyPgdfNy8gO61AdvUpgrade naar KadastraleKaart Pro
YybqB4LCInUpgrade naar KadastraleKaart Pro
k2C e2zIrDu1D Upgrade naar KadastraleKaart Pro
ayXclJwSo9U3gSgZcUpgrade naar KadastraleKaart Pro
jrh2YiSMjJA2N5OhUpgrade naar KadastraleKaart Pro
3T5 67NRUpgrade naar KadastraleKaart Pro
3X z1c0XkpDbZiUpgrade naar KadastraleKaart Pro
14/08/2007

Percelen
Gebruik de zoekbalk of klik op een perceel om informatie over het perceel te bekijken.