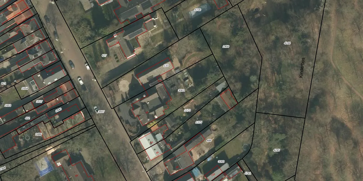
Perceel: GMT00-M-3061
KadastraleKaart.com kan meer dan je denktOntdek meer ›
Filter op bestemming 50+ datasets Eigendomsdata in één klik Percelen CRM
1.077 m2 - 159 m
Eigenaar opvragen
GMT00-M-3061 (Gemert)
- 5421 WE
r13BYwKyNr3ql0IckzgzKKa2swoDKUpgrade naar KadastraleKaart Pro
Verkoopprijs opvragen
Bekijk op Street View
Download DWG/DXF/Excel
vuhqMC7ZvUpgrade naar KadastraleKaart Pro
NjeV5Q O FsnfOTUpgrade naar KadastraleKaart Pro
rXtFWQpxTAVUwp40GQYUpgrade naar KadastraleKaart Pro
W4BwFUEeUWbxICUKzzUpgrade naar KadastraleKaart Pro
7Vey3HeISpWszai61lUpgrade naar KadastraleKaart Pro
Scz6o5B0KtPUpgrade naar KadastraleKaart Pro
6P07QmnKKUpgrade naar KadastraleKaart Pro
OkWe8gHBMEo O9Upgrade naar KadastraleKaart Pro
Y BcC4ABMuGP5xw Upgrade naar KadastraleKaart Pro
6g3D9f EZzBwHUpgrade naar KadastraleKaart Pro
21/03/2005

Percelen
Gebruik de zoekbalk of klik op een perceel om informatie over het perceel te bekijken.