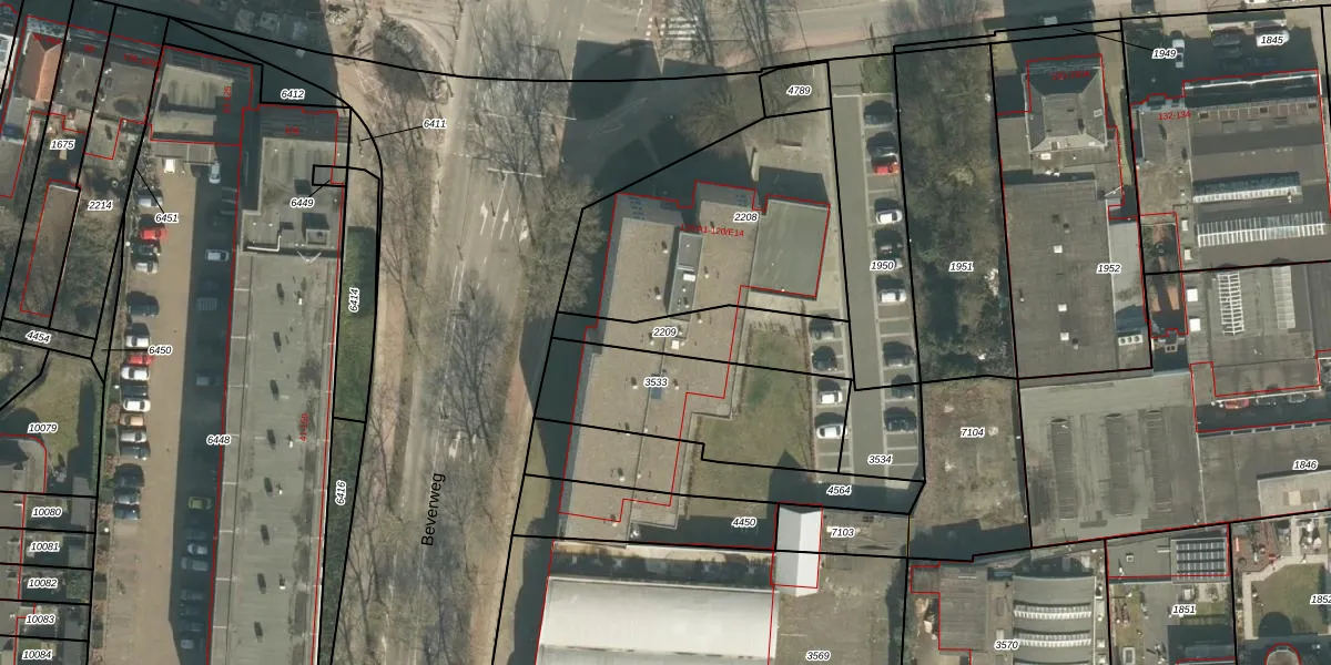
Perceel: GNK02-A-2209
KadastraleKaart.com kan meer dan je denktOntdek meer ›
Filter op bestemming 50+ datasets Eigendomsdata in één klik Percelen CRM
302 m2 - 103 m
Eigenaar opvragen
GNK02-A-2209 (Ginneken)
- 4817 MJ
inRx9PX5YTA2ruuSUP4Dq17nTpUpgrade naar KadastraleKaart Pro
Bekijk op Street View
Download DWG/DXF/Excel
8 KG v9JqH6zPUpgrade naar KadastraleKaart Pro
gVvs xE8LmSeIJ Upgrade naar KadastraleKaart Pro
fr1clqXQ58khUpgrade naar KadastraleKaart Pro
SjQD4d BmPetD6HTHgaUpgrade naar KadastraleKaart Pro
oRGW54kraaJijuitReGpaS Upgrade naar KadastraleKaart Pro
zvpicB9 ATRBqUpgrade naar KadastraleKaart Pro
5fnKRZaU0IQI YGFvA8BC8Upgrade naar KadastraleKaart Pro
WM5LknECLTSoUpgrade naar KadastraleKaart Pro
JZ2h81irfiwt PZ zo65Upgrade naar KadastraleKaart Pro
nvjHh5LY4tsoXu wOJGv Upgrade naar KadastraleKaart Pro
14/04/2010

Percelen
Gebruik de zoekbalk of klik op een perceel om informatie over het perceel te bekijken.