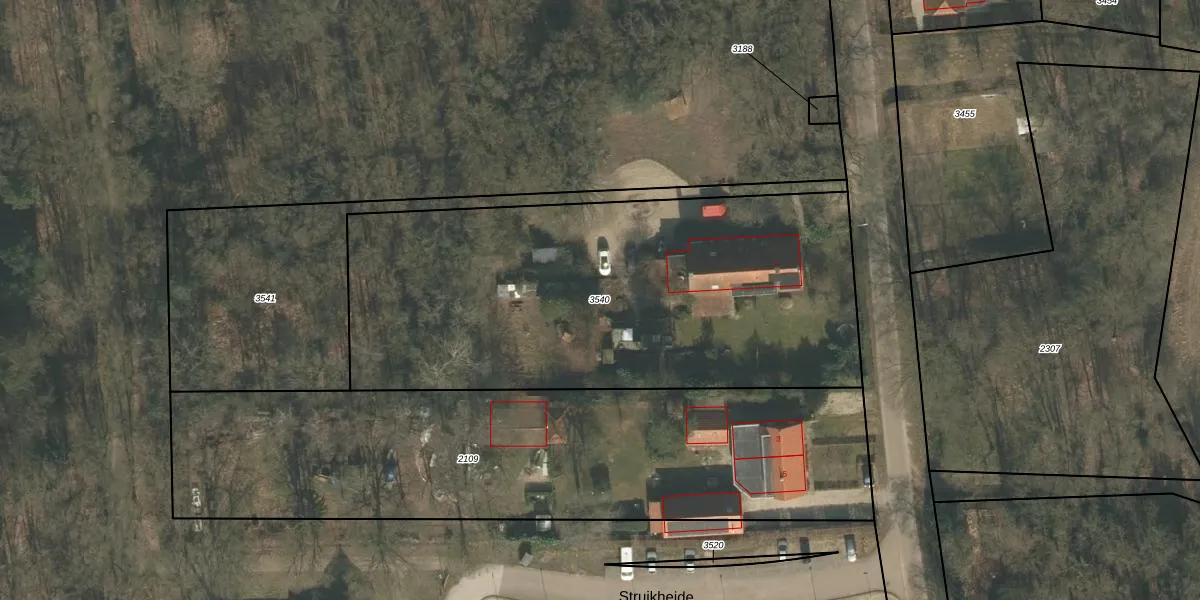
Perceel: GNP00-F-3540
KadastraleKaart.com kan meer dan je denktOntdek meer ›
Filter op bestemming 50+ datasets Eigendomsdata in één klik Percelen CRM
2.515 m2 - 231 m
Eigenaar opvragen
GNP00-F-3540 (Gennep)
- 6591 RX
xsI46yE D ZPPo0yOxcxRJy7l0u548Upgrade naar KadastraleKaart Pro
Verkoopprijs opvragen
Bekijk op Street View
Download DWG/DXF/Excel
eu GIxzF r KUpgrade naar KadastraleKaart Pro
uZg5 j43xOiWMYUpgrade naar KadastraleKaart Pro
z3eTQdvls2YvgnkUpgrade naar KadastraleKaart Pro
BinwlH QcZiQ oE6hNyFEUpgrade naar KadastraleKaart Pro
5pXZtcjxzdBoeDUpgrade naar KadastraleKaart Pro
DlDVI8EArgk Upgrade naar KadastraleKaart Pro
sS6Yyi7QFUpgrade naar KadastraleKaart Pro
GbUZYoo EfBZg9pCIUDpi4Upgrade naar KadastraleKaart Pro
c2dMG 1TGfylX3BD7XYPKRUpgrade naar KadastraleKaart Pro
C98neDj ILUpgrade naar KadastraleKaart Pro
23/04/2018

Percelen
Gebruik de zoekbalk of klik op een perceel om informatie over het perceel te bekijken.