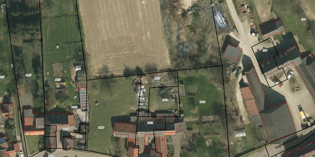
Perceel: GPN00-A-1417
KadastraleKaart.com kan meer dan je denktOntdek meer ›
Filter op bestemming 50+ datasets Eigendomsdata in één klik Percelen CRM
Geen adressen bij dit perceel
435 m2 - 103 m
Eigenaar opvragen
GPN00-A-1417 (Gulpen)
- Geen postcode aanwezig
vbJAq IW16NSBNy1XUpgrade naar KadastraleKaart Pro
Bekijk op Street View
Download DWG/DXF/Excel
fY7yb Sv9Upgrade naar KadastraleKaart Pro
5pcz9X bN9Upgrade naar KadastraleKaart Pro
P1EolBiwfUpgrade naar KadastraleKaart Pro
TL9MEhWgTMSyU8Vhwjqmi3Upgrade naar KadastraleKaart Pro
H7 Bclp1Upgrade naar KadastraleKaart Pro
j hZwJsu9FWPfVDUpgrade naar KadastraleKaart Pro
S8awzkyG3A7Upgrade naar KadastraleKaart Pro
DId6jXm9E4sjv hUAh89xj5Upgrade naar KadastraleKaart Pro
cVJ TqBj noDUpgrade naar KadastraleKaart Pro
W wiT8TlDnq Upgrade naar KadastraleKaart Pro
09/02/2009

Percelen
Gebruik de zoekbalk of klik op een perceel om informatie over het perceel te bekijken.